詳細図の境界線、モデル エッジ、および接続線の各プロパティを設定します。
オプション
次のオプションが表示されます。
[境界線]
- [線の色]
- 詳細図の境界線の色を設定します。[色選択]([色]一覧の下部)をクリックすると、[色選択]ダイアログ ボックスが表示されます。色の名前または番号を入力することもできます。
注: [<現在の製図規格の名前> に準拠]というラベルの付いた色を選択すると、詳細図の境界線の色は[オブジェクト プロパティ設定]ダイアログ ボックスから取得されます。このオプションは、AutoCAD Mechanical ツールセット の詳細ビュー スタイルに対してのみ使用できます。
- 線種
- 詳細図の境界線の線種を設定します。[その他]をクリックすると、[線種の選択]ダイアログ ボックスが表示されます。
注: [<現在の製図規格の名前> に準拠]というラベルの付いた線種を選択すると、線種は[オブジェクト プロパティ設定]ダイアログ ボックスから取得されます。このオプションは、AutoCAD Mechanical ツールセット の詳細ビュー スタイルに対してのみ使用できます。
- 線の太さ
- 詳細図の境界線の太さを選択します。
注: [<現在の製図規格の名前> に準拠]というラベルの付いた線の太さを選択すると、詳細図の境界線の太さは[オブジェクト プロパティ設定]ダイアログ ボックスから取得されます。このオプションは、AutoCAD Mechanical ツールセット の詳細ビュー スタイルに対してのみ使用できます。
[モデル エッジ]
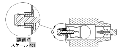
- [スムーズ]
- 詳細図内のモデルの切断線がスムーズになるように設定します。
| モデル ドキュメントの詳細図に適用した場合 |
AMDETAIL[詳細図]による詳細図に適用した場合 |
|
|
|
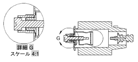
- [スムーズ境界]
- 詳細図の周囲に枠を表示し、詳細図に表示されたモデルの切断線がスムーズになるように設定します。
| モデル ドキュメントの詳細図に適用した場合 |
AMDETAIL[詳細図]による詳細図に適用した場合 |
|
|
|
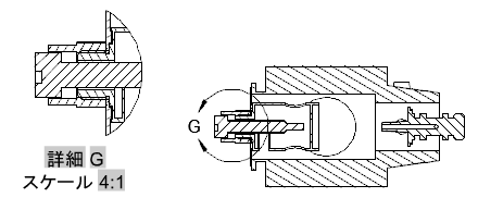
- [スムーズ接続線]
- 詳細図の枠と詳細図の境界との間に接続線を表示します。また、詳細図の周囲に枠を表示し、詳細図に表示されたモデルの切断線がスムーズになるように設定します。
| モデル ドキュメントの詳細図に適用した場合 |
AMDETAIL[詳細図]による詳細図に適用した場合 |
|
|
|
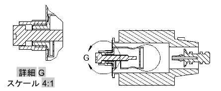
- [ギザギザ]
- 詳細図内のモデルの切断線がギザギザになるように設定します。
| モデル ドキュメントの詳細図に適用した場合 |
AMDETAIL[詳細図]による詳細図に適用した場合 |
|
|
注: AMDETAIL[詳細図]による詳細図では、ギザギザの切断線はサポートされていません。このオプションを選択しても、AMDETAIL[詳細図]による詳細図では、[スムーズ]オプションを選択した場合と同じ結果になります。
|
- [線の色]
- 詳細図の枠の色を設定します。[色選択]([色]一覧の下部)をクリックすると、[色選択]ダイアログ ボックスが表示されます。色の名前または番号を入力することもできます。
注: [<現在の製図規格の名前> に準拠]というラベルの付いた色を選択すると、詳細図の枠線の色は[オブジェクト プロパティ設定]ダイアログ ボックスから取得されます。このオプションは、AutoCAD Mechanical ツールセット の詳細ビュー スタイルに対してのみ使用できます。
- 線種
- 詳細図の枠の線種を選択します。[その他]をクリックすると、[線種の選択]ダイアログ ボックスが表示されます。
注: [<現在の製図規格の名前> に準拠]というラベルの付いた線種を選択すると、詳細図の枠線の線種は[オブジェクト プロパティ設定]ダイアログ ボックスから取得されます。このオプションは、AutoCAD Mechanical ツールセット の詳細ビュー スタイルに対してのみ使用できます。
- 線の太さ
- 詳細図の枠線の太さを選択します。
注: [<現在の製図規格の名前> に準拠]というラベルの付いた線種を選択すると、詳細図の枠線の太さは[オブジェクト プロパティ設定]ダイアログ ボックスから取得されます。このオプションは、AutoCAD Mechanical ツールセット の詳細ビュー スタイルに対してのみ使用できます。
[接続線]
- [線の色]
- 詳細図の枠と詳細図の境界を接続する線の色を設定します。[色選択]([色]一覧の下部)をクリックすると、[色選択]ダイアログ ボックスが表示されます。色の名前または番号を入力することもできます。
注: [<現在の製図規格の名前> に準拠]というラベルの付いた色を選択すると、接続線の色は[オブジェクトプロパティ設定]ダイアログ ボックスから取得されます。このオプションは、AutoCAD Mechanical ツールセット の詳細ビュー スタイルに対してのみ使用できます。
- 線種
- 接続線の線種を設定します。[その他]をクリックすると、[線種の選択]ダイアログ ボックスが表示されます。
注: [<現在の製図規格の名前> に準拠]というラベルの付いた線種を選択すると、接続線の線種は[オブジェクト プロパティ設定]ダイアログ ボックスから取得されます。このオプションは、AutoCAD Mechanical ツールセット の詳細ビュー スタイルに対してのみ使用できます。
- 線の太さ
- 接続線の太さを設定します。
注: [<現在の製図規格の名前> に準拠]というラベルの付いた線の太さを選択すると、接続線の太さは[オブジェクト プロパティ設定]ダイアログ ボックスから取得されます。このオプションは、AutoCAD Mechanical ツールセット の詳細ビュー スタイルに対してのみ使用できます。
[既定に戻す]
スタイルの基になっている製図規格および履歴のすべての値を既定値に戻します。このボタンは、AutoCAD Mechanical ツールセット の詳細ビュー スタイルに対してのみ表示されます。