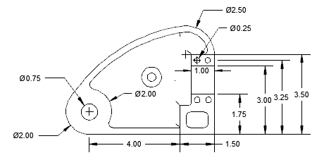
원본 3D 모형을 변경해도 모형 문서 도면 뷰를 업데이트해야 해당 변경 사항이 모형 문서 도면 뷰에 반영됩니다.
자동 업데이트가 켜져 있으면(VIEWUPDATEAUTO 시스템 변수 = 1) 다음의 경우 도면 뷰는 자동으로 업데이트됩니다.
자동 업데이트가 꺼져 있으면(VIEWUPDATEAUTO 시스템 변수 = 0) 도면 뷰는 자동으로 업데이트되지 않습니다. 업데이트해야 하는 도면 뷰는 빨간색 표식기로 강조됩니다. 모형이 변경되었음을 알리는 풍선 알림이 시스템 트레이에 팝업으로 표시됩니다. 그 이후부터는 오래된 도면 뷰를 명시적으로 업데이트해야 합니다.

원본 모형의 변경 사항에 따라 뷰가 확장 또는 축소될 수 있습니다. 두 가지 방법으로 도면에서 뷰를 앵커할 수 있습니다.

뷰가 중심을 기준으로 확장 또는 축소되도록 뷰를 중심에 자리맞추기할 수 있습니다.

또한 "고정" 옵션을 선택할 수도 있습니다. 그러면 변경되지 않은 모형 형상이 업데이트 작업 전의 위치에 유지됩니다. 이 옵션을 선택하는 경우 뷰가 보다 적게 이동하므로 이 옵션이 기본 설정되는 경우가 많습니다.
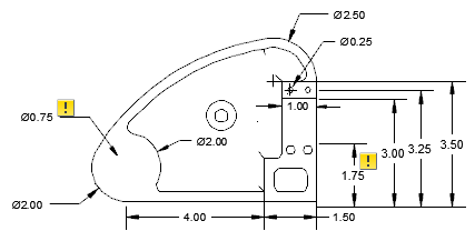
업데이트 이벤트에서 주석이 부착된 모서리를 제거하면 주석 연관성이 손실됩니다. 주석 감시를 통해 연관성이 손실된 주석을 추적할 수 있습니다.
주석 감시는 주석 상태를 모니터하는 서비스입니다. 업데이트 이벤트에서 주석의 연관성이 손실되면 풍선 알림에 영향을 받은 주석의 수가 표시되고, 주석 감시 트레이 아이콘이
에서
(으)로 변경됩니다. 또한 주석 감시에서 영향을 받은 주석 옆에는 배지가 표시됩니다.

업데이트 이벤트 전

업데이트 이벤트 후
뱃지를 클릭하면 연관해제된 해당 주석과 관련된 옵션이 들어 있는 메뉴가 표시됩니다. 주석 감시를 끄면 배지는 사라집니다.