직교 뷰 또는 등각투영 뷰에서 일반 치수를 작성할 수 있습니다. 선택하는 형상에 따라, 치수 유형과 상황에 맞는 메뉴에 제공되는 옵션이 결정됩니다.
치수 텍스트를 재지정할 수 있으며 이는 모형 형상에 영향을 주지 않습니다.
치수 정밀도 및 공차를 변경하고 지시선 및 화살촉을 편집하거나 치수 텍스트의 컨텐츠를 수정할 수 있습니다.

원점(기준선)과 선택한 모서리 또는 점 간의 직교 거리를 표시하는 다중 치수를 작성합니다. 선택한 첫 번째 모서리 또는 점은 원점 형상입니다. 개별 치수 또는 치수 세트를 작성할 수 있습니다.

단일 프로세스에서 여러 세로좌표 치수를 작성합니다. 세로좌표 치수는 배치하는 대로 자동으로 정렬됩니다. 치수 텍스트가 겹치는 경우 치수 위치 또는 치수 스타일을 수정할 수 있습니다. 개별 치수 또는 치수 세트를 작성할 수 있습니다.

모든 모형 치수를 표시하거나 선택한 부품 또는 피쳐에 관련된 치수만을 표시합니다. 도면 뷰에서 유지 관리할 치수를 선택합니다.
뷰 평면에 평행한 모형 치수만을 사용할 수 있습니다.
모형 치수를 수정하여 부품 파일을 처리할 수 있습니다.

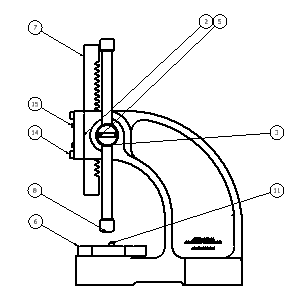
중심 표식이 선택한 호 또는 원에 추가됩니다. 중심 표식 치수보조선은 형상에 맞게 자동으로 크기가 지정됩니다.
중심 표식은 개별적으로 추가하거나 자동화된 중심선 명령을 사용하여 추가할 수 있습니다.

선의 중간점 또는 호나 원의 중심점에서 선택한 모서리의 중심선을 작성합니다. 피쳐가 원형 패턴을 구성하는 경우 원형 중심선을 작성합니다.
Autodesk Inventor에서는 세 가지 유형의 중심선(이등분, 중심 패턴 및 축)을 지원합니다.

구멍 또는 스레드 주는 모형에 구멍, 스레드 및 원통형 절단부 돌출 피쳐의 정보를 표시합니다. 구멍 주의 스타일은 선택한 피쳐 유형에 따라 다릅니다.

모따기 주는 선택한 모형 모서리 또는 스케치된 선에 대한 거리 및 각도 측정값을 포함합니다.
뷰 및 스케치에서 모따기 주를 각도 모서리에 부착할 수 있습니다. 모따기 모서리와 참조 모서리는 본체, 모형 또는 스케치가 서로 다를 수 있지만 동일한 뷰에 속해야 합니다.

표면 텍스처, 용접, 형상 공차, 피쳐 식별자, 데이텀 대상 및 데이텀 식별자 기호와 같은 다양한 유형의 기호를 사용할 수 있습니다. 기호는 지시선이 있게 또는 지시선이 없게 작성합니다.
스케치 기호는 도면 자원에서 정의되고 표준 기호처럼 배치됩니다. 이러한 기호는 Autodesk Inventor에서 사용할 수 없는 사용자 기호를 정의하는 데 사용됩니다.

절곡부 주는 판금 절곡부, 윤곽선 롤 및 표면 중심선에 가공 정보를 추가합니다. 절곡부 주는 판금 부품의 플랫 패턴 뷰에 추가할 수 있습니다.
절곡부 주는 선택한 절곡부 중심선과 연관됩니다. 절곡부 주는 선택한 절곡부 중심선 위에 기본 배치됩니다. 절곡부 주는 치수 스타일의 원점 간격띄우기 값에 의한 간격띄우기 및 중심선의 중간점에 대한 절곡부 텍스트를 구속합니다.

펀치 주에는 펀치 피쳐에 관련된 데이터가 포함됩니다(예: 펀치 ID, 각도, 방향, 깊이, 수량 주 등).
펀치 주는 판금 부품의 플랫 패턴 뷰에 추가할 수 있습니다.

용접 모양은 2D 뷰에서 용접 피쳐를 나타내는 데 사용됩니다. 용접 모양 명령을 사용하여 용접 모양을 수동으로 추가할 수 있습니다. 상황에 맞는 메뉴에서 모형 주석 가져오기 > 용접 주석 가져오기를 사용하여 용접 피쳐에서 자동으로 용접 모양을 추가합니다.

필렛은 용접 비드의 끝을 가리키는 채워진 영역을 나타내는 데 사용됩니다. 필렛 명령을 사용하여 수동으로 필렛을 추가하거나 모형 주석 가져오기 > 용접 주석 가져오기를 사용하여 용접 모형에서 자동으로 필렛을 추가할 수 있습니다.
객체 특성을 통해 필렛 모양을 변경합니다.

품번기호는 부품 리스트에 나열된 항목을 식별하는 주석 태그입니다. 품번기호는 개별적으로 배치하거나 도면 뷰의 모든 구성요소에 대해 자동으로 배치할 수 있습니다. 부품 리스트에 사용자 부품을 추가한 후 이 부품에 품번기호를 추가할 수도 있습니다.
품번기호 쉐이프 및 값은 상황에 맞는 메뉴의 품번기호 편집을 사용하여 재지정할 수 있습니다. 상황에 맞는 메뉴의 품번기호 부착 옵션을 사용하여 품번기호를 결합하여 단일 지시선을 사용할 수 있습니다.

부품 리스트는 조립품 BOM에 저장된 데이터를 표시합니다. 부품 리스트에 다른 열이나 재지정된 값을 포함하도록 수정할 수 있습니다. BOM 데이터는 도면 파일 또는 조립품 파일에서 수정할 수 있습니다.
사용자 부품은 페인트 또는 그리스와 같이 모델링되지 않은 항목을 포함하도록 부품 리스트에 추가할 수 있습니다.

일반, 구성 또는 절곡부 테이블을 작성할 수 있습니다.
일반 테이블은 행 및 열의 기본 개수를 가질 수 있습니다. 또는 행 및 열의 크기를 사용자화할 수 있습니다. 일반 테이블은 .xls, .xlsx 또는 .csv 파일의 외부 데이터를 참조하거나 필요한 다른 유형의 데이터를 입력할 수 있습니다.
iPart 및 iAssembly 도면에서 구성 테이블 행은 팩토리 멤버를 나타냅니다. 구성 테이블에 포함할 열(예: 멤버 사이에서 서로 다른 값 및 제외 상태)을 지정할 수 있습니다.
판금 부품이 테이블의 소스인 경우 절곡부 테이블이 작성됩니다. 절곡부 테이블에는 각도 및 반지름과 같은 절곡부 정보가 포함됩니다.

구멍 테이블은 모형에서 구멍 피쳐의 크기 및 위치를 표시합니다. 구멍 테이블이 추가되면 각 개별 구멍이 구멍 태그를 받고 해당 행이 테이블에 추가됩니다.
또한 테이블을 편집하여 중심 표식, 펀치 피쳐 및 원통형 절단부 돌출을 구멍 테이블에 추가할 수 있습니다.

리비전 테이블에는 설계 변경 사항에 대한 정보가 포함됩니다. 리비전 테이블은 전체 도면 파일 또는 단일 시트에 대해 작성할 수 있습니다.
리비전 태그는 설계 리비전에 의해 변경된 객체를 표시합니다. 태그의 기본 리비전 수준은 테이블의 최신 리비전입니다. 태그의 리비전 수준은 상황에 맞는 메뉴를 사용하여 변경할 수 있습니다.

텍스트를 사용하여 도면에 일반 주를 추가합니다. 일반 주는 도면의 뷰, 기호 또는 기타 객체에 부착되지 않습니다.
지시선 텍스트를 사용하여 도면의 객체에 주를 추가합니다. 뷰의 형상에 지시선을 부착하면 뷰가 이동하거나 삭제될 때 그 메모도 이동하거나 삭제됩니다.
