용접 기호는 뷰별 주석입니다. 용접 기호는 용접 기호를 추가하는 뷰에만 나타납니다.
- 주석 탭
기호 패널
(기호)를 클릭합니다.
- 유형 선택기에서 적절한 용접 기호를 선택합니다.
다음 유형의 용접 기호를 배치할 수 있습니다.
- 모깍기
- 플레어 베벨
- 베벨
- V
- 뒤
- 플레어 V
- J
- 슬롯
- 사각형
- U
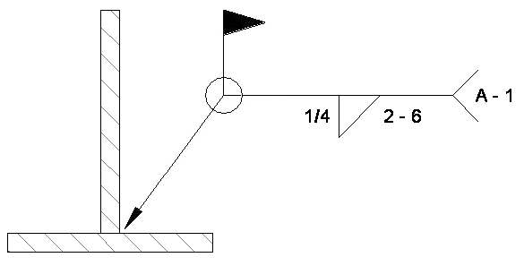
- 기호를 표시할 도면 영역을 클릭합니다.
- 수정을 클릭한 다음 용접 기호를 선택합니다.
- 특성 팔레트에서 용접 기호에 대해 원하는 특성을 지정합니다.
다음 용접 기회 특성을 지정할 수 있습니다.
- 상단 기호 유형, 크기 및 길이
- 하단 기호 유형, 크기 및 길이
- 등고선 기호 유형
- 지시선 구성
- 테일 및 테일 참고 화면표시
- 온둘레 용접 및 필드 용접 기호 화면표시
- 왼쪽 또는 오른쪽 기호 방향
용접 기호를 선택한 후 적절한 파랑 문자 값을 클릭하여 다양한 용접 기호 매개변수를 편집할 수 있습니다. 편집 상자에 원하는 값을 입력하고 Enter 키를 누릅니다.
패밀리 편집기에서 용접 기호 패밀리를 작성하여 프로젝트로 로드할 수도 있습니다. 용접 기호 패밀리를 작성하려면 일반 주석 템플릿을 사용하십시오. 용접 기호 패밀리를 작성할 때 하나의 뷰에서만 이것을 볼 수 있습니다. 다른 주석과 마찬가지로 용접 기호도 뷰 특정 요소입니다.