Wymiary ogólne można utworzyć w widoku prostopadłym lub izometrycznym. Wybrany rodzaj geometrii określa typ wymiarów i opcje dostępne w menu kontekstowym.
Można nadpisać wymiary, które nie mają wpływu na geometrię modelu.
Można zmienić dokładność i tolerancję wymiarów, linię odniesienia oraz groty strzałek lub zawartość pola z wymiarami.

Można tworzyć wiele wymiarów, które określają odległość prostopadłą odległość pomiędzy oryginalną (linią bazową) a wybranymi krawędziami lub punktami. Pierwsza wybrana krawędź lub punkt jest podstawą geometrii. Można utworzyć pojedyncze wymiary lub ich zestaw.

Można utworzyć wymiary współrzędnościowe w jednym procesie. Wymiary współrzędnościowe dopasowują się automatycznie gdy są wstawiane. Jeżeli Tekst z wymiarami zachodzi na siebie, można zmienić położenie wymiarów lub ich styl. Można utworzyć pojedyncze wymiary lub ich zestaw.

Należy wyświetlić wszystkie wymiary modelu lub tylko odnoszące się do wybranych części lub cech. Wyboru wymiarów dokonuje się w celu zachowania widoku rysunku.
Dostępne są jedynie wymiary modelu równoległe do płaszczyzny widoku.
Można zmienić wymiary modelu, aby ustawić plik części.

Znaczniki środka dodaje się do wybranego łuku lub okręgu. Linie pomocnicze znaczników środka są automatycznie dopasowywane do geometrii.
Linie pomocnicze można dodawać pojedynczo lub używając polecenia dla linii środkowej.

Polecenie tworzy linię środka dla wybranych krawędzi, w punkcie symetrii dla linii lub w punkcie środkowym dla łuków i okręgów. Tworzy kołową linię środka gdy cechy tworzą szyk kołowy.
Program Autodesk Inventor obsługuje trzy typy linii środkowych: dwusieczną, szyk wyśrodkowany i osiową.

Opisy otworu lub gwintu zawierają informacje o cechach otworów, gwintów i cylindrycznych wycięciach prostych na modelu. Styl opisu otworu różni się w zależności od rodzaju wybranej cechy.

Opisy fazowania zawierają wymiary dotyczące odległości i kąta wybranych krawędzi modelu lub linii szkicowych.
Opisy frazowania można dołączyć do krawędzi kątowych na widokach i szkicach. Krawędź fazy i krawędź odniesienia pochodzące z różnych brył, modelów lub szkiców, muszą należeć do tego samego widoku.

Dostępne są różne rodzaje symboli: chropowatość powierzchni, spoina, tolerancja kształtu i położenia, identyfikator elementu, cząstkowy element odniesienia oraz symbole identyfikatora bazy pomiarowej. Symbole można tworzyć z linią odniesienia lub bez niej.
Symbole szkicu są definiowane w zasobach rysunkowych i umieszczane jak symbole standardowe. Używa się ich do określenia symboli niestandardowych, które nie są dostępne w programie Autodesk Inventor.

Opisy gięcia dodają informacje dotyczące wykonania gięcia konstrukcji blachowych, profilowania rolkowego i kosmetycznych linii środkowych. Opisy gięcia można dodać do rozwinięcia blachy dla konstrukcji blachowych.
Opis gięcia powiązany jest z wybraną linią środkową zagięcia. Domyślne położenie opisu gięcia znajduje się powyżej wybranej linii środkowej gięcia. Wiąże ono tekst gięcia do punktu centralnego linii środkowej i odsuwa o wartość Odsunięcia początku ze Stylu wymiarowania.

Opis otworu przebijanego zawiera dane związane z przebijanym elementem, na przykład identyfikator, kąt, kierunek, głębokość, opis ilości itp.
Opisy otworów przebijanych można dodać do rozwinięcia blachy dla konstrukcji blachowych.

Lica spoin stosuje się, aby oznaczyć cechy spoiny na widokach 2D. Lica spoin można dodać ręcznie używając polecenia Lico. Można je dodać automatycznie z cech spoiny, używając polecenia Pobierz opisy modelu > Pobierz opisy spoin, dostępnego w menu kontekstowym.

Przekroje spoin stosuje się do przedstawienia obszaru wypełnionego, zaznaczającego koniec ściegu spoiny. Można je dodać ręcznie używając polecenia Przekrój spoiny lub automatycznie z modeli konstrukcji spawanych używając polecenia Pobierz opisy modelu > Pobierz opisy spoin.
Zmiany wyglądu przekroju spoiny dostępne są we właściwościach obiektu.

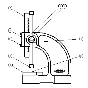
Numery pozycji są to oznaczenia z opisami identyfikującymi pozycje wymienione w liście części. Numery pozycji można umieszczać pojedynczo lub automatycznie dla wszystkich komponentów w widoku rysunku. Po dodaniu części niestandardowej do listy części możliwe jest dodanie do niej numerów pozycji.
Kształt i wartość numerów pozycji można zmienić, używając opcji Edytuj numer pozycji, dostępnej w menu kontekstowym. Numery pozycji można łączyć w jedną linię odniesienia, używając opcji dołączania numeru pozycji, dostępnych w menu kontekstowym.

Listy części wyświetlają dane zachowane w zestawieniu listy komponentów. Można dodać do listy części różne kolumny lub nadpisać w niej wartości. Dane w zestawieniu komponentów można zmieniać z pliku rysunku lub z pliku zespołu.
Do listy części można dodać części niestandardowe, aby zawierała pozycje które nie są modele, takie jak farba czy smar.

Można utworzyć tabelę ogólną, konfiguracji lub gięcia.
Tabela ogólna może mieć domyślną ilość wierszy i kolumn lub można dostosować jej wielkość. Tabela ogólna może odwoływać się do danych zewnętrznych z plików .xls, .xlsx lub .csv albo można wprowadzić dowolny inny typ danych.
W rysunkach części iPart i zespołów iAssembly wiersze tabeli konfiguracji reprezentują składniki generatora. Można określić kolumny do zawarcia w tabeli konfiguracji, takie jak stan wykluczenia i wartości zróżnicowane pomiędzy składnikami.
Tabelę gięcia tworzy się, gdy dane tabeli dotyczą konstrukcji blachowych. Tabele gięcia zawierają informacje dotyczące gięcia, takie jak kąt i promień.

Tabele otworów zawierają rozmiar i położenie otworów na modelu. Gdy dodaje się tabelę otworów, każdy otwór otrzymuje swoje oznaczenie i odpowiedni wiersz w utworzonej tabeli.
Do tabeli otworów można również dodać poprzez edycję znaczniki środków, otwory przebijane i cylindryczne wyciągnięcie proste.

Tabele zmian zawierają informacje o zmianach projektowych. Tabele zmian można tworzyć dla całego pliku rysunku, lub tylko dla jednego arkusza.
Oznaczenie zmian zaznacza obiekt zmieniony podczas korekty projektu. Domyślny poziom zmian oznaczenia to ostatnia zmiana w tabeli. Poziom zmiany oznaczenia można zmienić, używając menu kontekstowego.

Aby dodać ogólny opis do rysunku, użyj narzędzia Tekst. Opisy ogólne nie są dołączone do widoku, symbolu lub innego obiektu na rysunku.
Aby dodać opis do elementów rysunku, użyj polecenia Tekst linii odniesienia. Po dołączeniu linii odniesienia do geometrii wewnątrz widoku opis jest przesuwany lub usuwany razem z widokiem.
