W widokach elewacji i przekroju używane są takie same narzędzia i metody rysowania kanałów, jak w rzutach.
Nagranie wideo: Wyświetlanie osi kanału okrągłego
Ponieważ jednak układ jest wyświetlany z innej perspektywy, wyniki nie zawsze są zgodne z oczekiwaniami. W widoku elewacji/przekroju kanał jest rysowany względem płaszczyzny widoku rzędnej/przekroju. Podczas rysowania w widoku elewacji/przekroju należy zachować widoczny widok 3D lub widok rzutu, aby zobaczyć wyniki wykonanych działań. Niżej wymieniono zagadnienia, o których należy pamiętać:
panel Narzędzia umieszczania
Dziedzicz rozmiar, aby przyjąć rozmiar istniejącego kanału.
W poniższych przykładach przedstawiono orientację kanałów dodanych w widokach elewacji/przekroju. W przykładach, wszystkie istniejące segmenty mają wymiary 12" W X 8" H.
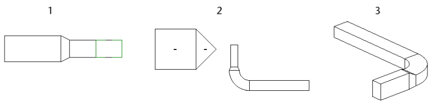
W pierwszym przykładzie kanał poziomy o wymiarach 12" W X 8" H jest wyświetlona w widoku rzutu.


W widoku elewacji kanał poziomy został dodany do kanału. Podgląd kanału wskazuje, że orientacja nowego kanału ma 12" powierzchnię (W) wyświetloną jako wymiar od góry do dołu.

Wynikowy kanał jest pokazany na poniższym rysunku w widoku elewacji (1), widoku rzutu (2), i widoku 3D (3). Kanał zawiera przejście między kolanem i nowym segmentem kanału.


Rysowanie nowego kanału (w górę lub w dół) od kanału z poprzedniego przykładu nie wymaga wyświetlenia. Szerokość i wysokość są wyświetlane względem widoku elewacji.

Aby uzyskać żądany wynik może być konieczne określenie szerokości i wysokości na pasku opcji podczas łączenia z istniejącym kanałem w widoku elewacji.
Nowy kanał zostanie połączony z następnym dostępnym złączem najbliżej płaszczyzny widoku (na pierwszym planie) w widoku elewacji. Dostępne złącze nie jest jeszcze połączone z innym złączem i znajduje się w granicach widoku elewacji. (Tylko obwiednia widoku elewacji jest płaszczyzną widoku pierwszego planu).
W poniższym przykładzie dostępne są oba złącza na istniejącym kanale (1). Segment poziomy dodany w widoku przekroju (2) jest połączony ze złączem najbliżej płaszczyzny widoku, jak pokazano w widoku rzutu (3).

Dwa złącza w zakresie widoku

Oba złącza w zakresie widoku
Jeśli w zakresie widoku dostępne jest tylko jedno złącze, to zostanie użyte. W poniższym przykładzie złącze najbliżej płaszczyzny widoku jest już używane (1). Podczas dodawania nowego kanału w widoku elewacji (2), zostaje on dodany w odległym końcu istniejącego kanału (3), przy użyciu tylko dostępnego złącza.

Tylko jedno złącze dostępne w zakresie widoku

Tylko jedno złącze w zakresie widoku
Jeśli w zakresie widoku nie ma żadnych dostępnych złączy, kanał zostaje połączony z trójnikiem na przecięciu płaszczyzny widoku i segmentu. Oś kanału jest umieszczona dokładnie nad płaszczyzną widoku.
Jeśli nie ma dostępnych złączy w zakresie widoku, jak w widoku rzutu (1), nowy kanał — dodany w widoku elewacji (2) jest połączony z trójnikiem na przecięciu płaszczyzny widoku elewacji i istniejącego kanału (3). Oś kanału jest umieszczona dokładnie nad płaszczyzną widoku.

Jedyne złącze w zakresie widoku jest już w użyciu

Dwa złącza w zakresie widoku, ale jedno złącze jest już w użyciu

Wszystkie dostępne złącza poza zakresem widoku
Nowy kanał zostanie połączony z następnym dostępnym złączem najbliżej płaszczyzny widoku (na pierwszym planie) w widoku przekroju. Dostępne złącze nie jest jeszcze połączone z innym złączem i znajduje się w granicach widoku przekroju.
W poniższym przykładzie dostępne są oba złącza na istniejącym kanale (1). Segment poziomy dodany w widoku przekroju (2) jest połączony ze złączem najbliżej płaszczyzny widoku, jak pokazano w widoku rzutu (3).
Jeśli tylko jedno złącze jest dostępne w zakresie widoku, należy je użyć.
W poniższym przykładzie dostępne jest tylko jedno złącze, mimo że oba końce istniejącego kanału znajdują się w zakresie widoku. Drugie złącze jest już w użyciu. Należy użyć dostępne złącze, nawet jeśli znajduje się ono najdalej od płaszczyzny widoku.
Jeśli wszystkie dostępne złącza są poza zakresem widoku, kanał zostaje połączony z trójnikiem na przecięciu płaszczyzny widoku i istniejącego kanału. Oś kanału jest umieszczona dokładnie nad płaszczyzną widoku.

Jedyne złącze w zakresie widoku jest już w użyciu

W takim przypadku, jeśli kanał jest narysowany w widoku przekroju (1), program Revit dodaje krótki segment kanału między złączem VAV i kolankiem, jak pokazano w widoku rzutu (2) i widoku 3D (3).

W poniższym przykładzie 2 segmenty kanału pionowe są dodawane do kanału w widoku elewacji. Oryginalny kanał jest pokazany w widoku rzutu (1), w skojarzonym widoku 3D (2) i w widoku elewacji południowej (3).

Wynikowe segmenty pionowe są wyświetlane (od lewej do prawej) w widoku rzutu (1), w skojarzonym widoku 3D (2) i w widoku elewacji południowej (3).


W takim przypadku, jeśli kanał jest narysowany w widoku elewacji południowej (1), program Revit dodaje krótki segment kanału między złączem VAV i kolankiem, jak pokazano w widoku rzutu (2) i widoku 3D (3).

W poniższym projekcie przykładowym należy dodać kanał, aby połączyć segmenty na poziomie 1 z kanałem na poziomie 2.

W widoku przekroju kanał na poziomie 2 wydaje się być wyrównany z kanałem na poziomie 1. Za pomocą narzędzia kanału, można narysować podstopnicę pionową z kanału na jednostce VAV na poziomie 1 do istniejącego kanału na poziomie 2.
Kanał zostanie dodany od złącza na kanale na poziomie 1 VAV do poziomego kanału na poziomie 2.

Skojarzony widok 3D przedstawia, w jaki sposób kanał jest tworzony. Wynikowy kanał jest narysowany z segmentem pionowym i poziomym do połączenia z kanałem na poziomie 2. Segment poziomy zostanie dodany prostopadle do płaszczyzny przekroju.
