Общие размеры могут быть нанесены на ортогональном или изометрическом видах. Выбранная геометрия определяет тип размеров и параметры, которые доступны в контекстном меню.
Текст размеров можно переопределить, что не повлияет на геометрию модели.
Можно изменять точность и допуск размеров, редактировать выноски и стрелки, а также изменять текст размеров.

Создает составные размеры, отображающие ортогональное расстояние между началом (базовой линией) и выбранными гранями или точками. Первое выбранное ребро или точка являются геометрией начала. Можно создавать индивидуальные размеры или набор размеров.

Создание нескольких ординатных размеров за одну операцию. Выравнивание ординатных размеров выполняется автоматически при их нанесении. Если происходит наложение текста размеров, можно изменить положение размеров или стиль размеров. Можно создавать индивидуальные размеры или набор размеров.

Отображает все размеры модели или только те размеры, которые имеют отношение к выбранным деталям или элементам. Вы выбираете размеры, которые следует сохранить на виде чертежа.
Отобразить можно только те размеры модели, которые параллельны плоскости этого вида.
Размеры модели можно изменять для управления файлом детали.

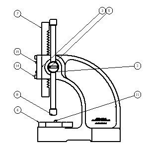
Маркеры центра добавляются к выбранной дуге или окружности. Линии расширения маркеров центра масштабируются автоматически в соответствии с геометрией.
Маркеры центра можно добавлять индивидуально или с использованием команды автоматической установки осевых линий.

Создает осевые линии для выбранных ребер, в средних точках линий или в центральных точках дуг и окружностей. Создание осевой линии по окружности, если элементы формируют круговой массив.
Autodesk Inventor поддерживает три типа осевых линий: биссектрисы, окружности центров и центровые линии.

Примечания об отверстиях и резьбе отображают информацию по объектам с отверстиями, резьбой и элементами выдавливания, имеющимся в модели. Стиль обозначения отверстий зависит от типа выбранного объекта.

Размеры фасок содержат расстояния и углы, измеренные для выбранных граней модели или эскизных линий.
Размеры фасок можно прикрепить к угловым ребрам в видах или эскизах. Кромка фаски и ссылочная кромка могут быть частью различных тел, моделей или эскизов, но при этом обязательно должны принадлежать к одному виду.

Доступны различные типы обозначений: обозначения шероховатости, сварки, допуска формы и расположения, идентификатора элемента, обозначения участка базы и идентификатора базы. Обозначения создаются с использованием или без использования выносок.
Эскизные обозначения содержатся в ресурсах чертежа и наносятся как стандартные обозначения. Они используются для определения дополнительных символов, которые недоступны в Autodesk Inventor.

Примечания для сгибов добавляют информацию для производства на сгибы листового металла, ролики и косметические осевые линии. Обозначения для сгибов могут быть добавлены на виды развертки деталей листового металла.
Примечания для сгибов привязаны к выбранной осевой линии сгиба. По умолчанию размер сгиба размещается над выбранной осевой линией сгиба. Текст сгиба ограничен средней точкой осевой линии и смещен на величину "Смещение от начала" от размерного стиля.

Примечание для высечки включает данные, относящиеся к элементу высечки, например, идентификатор высечки, угол, направление, глубину, примечание по качеству и так далее.
Обозначения для высечки могут быть добавлены на виды развертки деталей листового металла.

Условные изображения швов используются для обозначения сварочных элементов в двумерных видах. Вы можете добавить условные изображения швов вручную, используя команду "Условный шов". Их можно добавить автоматически из сварных элементов, используя команды "Получить аннотации модели" > "Получить аннотацию сварного шва" в контекстном меню.

Сварные катеты используются для представления заполненных областей, указывающих на окончание валика сварного шва. Они могут быть добавлены вручную с помощью команды "Сварной катет" или автоматически из сварных моделей через меню "Получить аннотации модели" > "Получить аннотацию сварного шва".
Изменяйте представление сварного катета, настроив свойства объекта.

Номера позиций представляют собой теги аннотаций и предназначены для идентификации элементов из списка деталей. Номера позиций можно устанавливать индивидуально или автоматически для всех компонентов на виде чертежа. Номера позиций могут быть нанесены и после того, как детали включены в список деталей.
Форма и значение номера позиции может быть переопределена в пункте контекстного меню "Редактировать номер позиции". Вы можете комбинировать номера позиций, чтобы использовать единую выноску, с помощью настройки параметров этих номеров в контекстном меню.

Списки деталей включают данные из спецификации сборки. Списки деталей можно изменять, добавляя в них другие столбцы или переопределенные значения. Спецификацию можно изменять из файла чертежа или из файла сборки.
В список деталей можно добавлять дополнительные детали, чтобы включить элементы, которые не могут быть показаны на модели, например, краску или смазку.

Можно создать обычную таблицу, таблицу конфигурации или таблицу сгибов.
Обычные таблицы могут создаваться с количеством строк и столбцов, установленным по умолчанию, или в соответствии с указанными пользователем значениями. Общая таблица может ссылаться на внешние данные из файлов XSL, XLSX или CSV, а также можно ввести любой другой тип данных.
Для чертежей параметрических деталей и сборок Inventor в строках таблицы приводятся элементы параметрического ряда. В таблицу конфигурации можно включить столбцы, например, статус исключения и величины, значения которых различны для разных элементов.
Таблица сгибов создается, если источником таблицы является деталь из листового металла. Таблицы сгибов содержат информацию о сгибах, например, угол и радиус.

Таблицы отверстий показывают размер и место расположения элементов отверстий на модели. При добавлении таблицы отверстий для каждого отдельного отверстия устанавливается тег отверстия, и в таблицу добавляется соответствующая строка.
Таблицу отверстий можно редактировать, добавляя маркеры центра, элементы высечки и цилиндрические выпрессовки.

Таблицы редакций содержат информацию об изменениях проекта. Таблицы редакций могут быть созданы для всего файла чертежа в целом или для отдельного листа.
Тег редакции отмечает объект, который был изменен при редактировании чертежа. Уровнем редакции по умолчанию для тега является последняя версия в таблице. Уровень редакции тега можно изменить через контекстное меню.

Используйте команду "Текст", чтобы добавить общие примечания на чертеж. Основные примечания не прикрепляются к видам, обозначениям и другим элементам чертежей.
Для размещения примечаний к конкретным элементам на чертеже используется функция "Текст на выноске". При удалении вида чертежа примечания на выносках также удаляются.
