Для рисования трубопроводов на фасадах используются те же приемы и инструменты, что и для рисования их на видах в плане. Тем не менее, поскольку компоновка рассматривается с другой точки, результаты могут не всегда соответствовать ожидаемым. Трубопроводы, рисуемые на фасаде, рисуются относительно плоскости фасада. Рисуя на фасаде, следует держать открытым 3D вид или вид в плане, чтобы видеть результаты выполняемых действий. Кроме того, необходимо помнить следующее.
Новая труба присоединяется к доступному соединителю, ближайшему к плоскости вида (переднему плану) фасада. Доступный соединитель — это соединитель, который еще не соединен с другим соединителем и который находится в пределах фасада. (Единственной границей фасада является плоскость вида на переднем плане.)
В приведенном ниже примере оба соединителя на существующей трубе (1) являются доступными. Горизонтальный сегмент, добавляемый на фасаде (2), присоединяется к соединителю, ближайшему к плоскости вида, как показано на виде в плане (3).

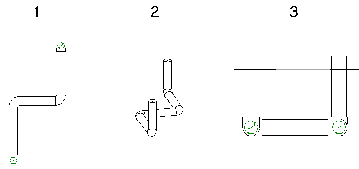
Два соединителя в секущем диапазоне
Если в секущем диапазоне присутствует только один доступный соединитель, труба присоединяется к нему. В приведенном ниже примере ближайший к плоскости вида соединитель уже занят (1). При добавлении на фасаде новой трубы (2) она добавляется в дальнем конце существующей трубы (3) и присоединяется к единственному доступному соединителю.

Только один доступный соединитель в секущем диапазоне
Если в пределах секущего диапазона отсутствуют доступные соединители, новая труба присоединяется с помощью тройника на пересечении плоскости фасада и существующей трубы. Осевая линия трубопровода размещается непосредственно на плоскости вида.
В приведенном ниже примере к секции трубы на фасаде добавляется 2 вертикальных сегмента трубы. Исходный трубопровод показан на виде в плане (1), на соответствующем 3D виде (2) и на южном фасаде (3).

Полученные вертикальные сегменты показаны (слева направо) на виде в плане (1), на соответствующем 3D виде (2) и на южном фасаде (3).


В данном случае, когда труба рисуется на южном фасаде (1), Revit автоматически добавляет короткий сегмент трубы между соединителем бойлера и отводом, как показано на виде в плане (2) и на 3D виде (3).
