VIEWDETAIL (指令)

針對模型文件圖面視圖的某部分建立詳圖。

查找

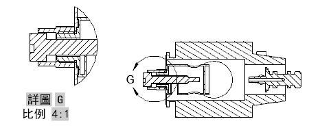
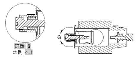
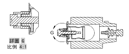
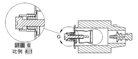
詳圖是包含部分其他圖面視圖的圖面視圖,並放大成較大的比例。您可以建立圓形或矩形詳圖。此指令僅在配置中支援,並且您必須有圖面視圖。

將顯示以下提示。

選取父系視圖

指定衍生自此詳圖的視圖。

中心點

在父系上指定中心點以設定詳圖邊界。

邊界大小
指定詳圖邊界的大小。您可以指定點或鍵入極座標。
矩形/環形
指定詳圖邊界的造型。
退回
移除處理中的邊界。
詳圖中的位置
指定要放置詳圖的位置。

表現法

只有當您已從 Inventor 模型建立詳圖時,才會看到這個面板。建立詳圖時,僅可以編輯「設計視圖」的值。

隱藏線

指定詳圖的顯示選項。

可見線
在線架構中顯示詳圖,並且僅顯示可見線。
可見線和隱藏線
在線架構中顯示詳圖,並且同時顯示可見線和隱藏線。
有可見線的描影
將詳圖顯示為描影,並且僅顯示可見線。
有可見線及隱藏線的描影
將詳圖顯示為描影,並且同時顯示可見線和隱藏線。
自父系
顯示帶有繼承自父系視圖性質的詳圖。

比例

指定詳圖的比例。依預設,詳圖的比例為父系視圖的兩倍,或為功能區「外觀」面板上之「比例」清單中次大的值。

輸入比例
輸入詳圖的比例。
自父系
指定與父系視圖相同的比例。

可見性

指定要為詳圖設定的可見性選項。物件可見性選項適用於特定模型,且某些選項可能在所選模型和由該模型建立的視圖中並不適用。

干涉邊

打開或關閉干涉邊的可見性。當一個或多個實體本體彼此相交時會產生干涉邊。打開干涉邊的可見性時,程式會在實體本體相交處繪製一條線。

相切邊

打開或關閉相切邊的可見性。相切邊會標記平面曲面與圓角邊緣之間的轉換,這最常被看成是圓角邊。

  • 相切邊前部縮短。將相切邊的長度縮短,以便與可見邊做區分。只有當選取「相切邊」時才能使用此選項。
折彎實際範圍

打開或關閉板金折彎實際範圍線的可見性。板金折彎實際範圍線指出在平面化的板金視圖中,折彎轉軸或折疊轉換的位置。

只有對應模型中具有已定義的平面化板金視圖時,才能使用此選項。

螺紋特徵

打開或關閉螺釘和攻牙孔上螺紋線的可見性。

簡報系統線

打開或關閉簡報系統線的可見性。簡報系統線為 (簡報檔中) 分解視圖中的線段,可展示元件移入組合位置的方向。

邊界

指定詳圖視圖邊界類型。

圓形
系統指定使用圓形邊界建立詳圖。此為預設邊界類型。

如果「推論約束」為開啟狀態,則圓形詳圖邊界中心關連至父系視圖的點。如果「推論約束」為關閉狀態,則圓形詳圖邊界中心未關連至父系視圖的點。

矩形
系統指定使用矩形邊界建立詳圖。

如果「推論約束」為開啟狀態,則矩形詳圖邊界中心關連至父系視圖的點。如果「推論約束」為關閉狀態,則矩形詳圖邊界中心將不會關連至父系視圖的點。

註解

識別碼
指定詳圖邊界和產生的詳圖的標示。

程式會一律從圖面的下一個可用詳細標示決定。

標示

指定是否顯示詳圖標示文字。

模型邊緣

平滑
指定詳圖內模型上的凹口線為平滑。
平滑的邊界
指定詳圖內模型上的凹口線為平滑,且詳圖的周圍有繪製邊界。
平滑與連接線
指定詳圖內模型上的凹口線為平滑、詳圖的周圍有繪製邊界,且引線將詳圖連接至父系視圖中的詳圖邊界。
鋸齒狀
指定詳圖內模型上的凹口線為鋸齒狀。
沒有詳圖邊界且父系視圖中的詳圖與詳圖邊界之間並無引線。

註解面板

識別碼

指定詳圖邊界和產生的詳圖的標示。

展示視圖標示

指定是否顯示詳圖標示文字。

移動

在不強制結束指令的情況下,先將詳圖置於繪製區後再加以移動。

結束

根據指令循環中選項出現的位置,回到前一個提示或完成指令。