Wenn sich das Quell-3D-Modell ändert, werden die Änderungen in den Zeichnungsansichten der Modelldokumentation erst nach deren Aktualisierung dargestellt.
Wenn Automatisch aktualisieren aktiviert ist (Systemvariable VIEWUPDATEAUTO = 1), werden Zeichnungsansichten automatisch aktualisiert:
Wenn Automatisch aktualisieren deaktiviert ist (Systemvariable VIEWUPDATEAUTO = 0), werden Zeichnungsansichten nicht automatisch aktualisiert. Zeichnungsansichten, die aktualisiert werden müssen, werden mit roten Markierungen hervorgehoben. Mit einer Meldung in der Taskleiste werden Sie darüber informiert, dass das Modell geändert wurde. Anschließend müssen Sie die veralteten Zeichnungsansichten explizit aktualisieren.

Je nach der Änderung im Quellmodell werden Zeichnungsansichten eventuell vergrößert oder verkleinert. Es gibt zwei Möglichkeiten zum Verankern einer Ansicht in der Zeichnung.

Sie können die Ansicht mittig ausrichten, sodass sich die Ansicht um den Mittelpunkt vergrößert oder verkleinert.

Sie können auch die Option Fest auswählen, bei der eine unveränderte Modellgeometrie an der Position verbleibt, an der sie vor der Aktualisierung war. Häufig wird dies bevorzugt, da weniger Bewegung auftritt.
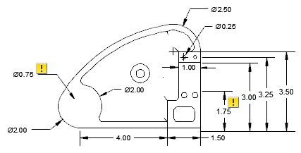
Wenn bei einer Aktualisierung eine Kante entfernt wird, der eine Beschriftung zugeordnet ist, verliert die Beschriftung ihre Assoziativität. Sie können Beschriftungen, deren Assoziativität verloren geht, mit der Beschriftungsüberwachung verfolgen.
Die Beschriftungsüberwachung ist ein Dienst, der den Status von Beschriftungen überwacht. Wenn durch eine Aktualisierung die Assoziativität von Beschriftungen verloren geht, gibt eine Sprechblasen-Benachrichtigung die Anzahl der betroffenen Beschriftungen an, und das Taskleistensymbol für die Beschriftungsüberwachung ändert sich von
in
. Außerdem zeigt die Beschriftungsüberwachung eine Kennzeichnung in der Nähe der betroffenen Beschriftungen an.

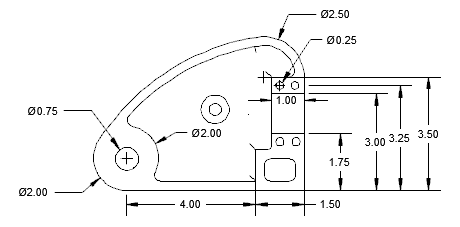
Vor der Aktualisierung

Nach der Aktualisierung
Wenn Sie auf diese Kennzeichnung klicken, wird ein Kontextmenü angezeigt, das Optionen für die entsprechende Beschriftung enthält, deren Zuordnung aufgehoben wurde. Wenn Sie die Beschriftungsüberwachung ausschalten, werden die Kennzeichnungen ausgeblendet.