Crée une vue de détail d'une partie d'une vue de dessin de la documentation du modèle existante.
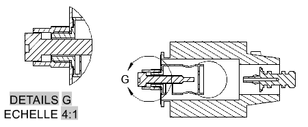
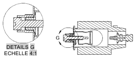
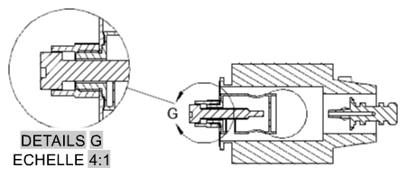
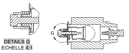
Une vue de détail est une vue de dessin qui contient une partie d'une autre vue de dessin et qui est affichée à une plus grande échelle. La vue de détail peut être de forme circulaire ou rectangulaire. Cette commande est prise en charge uniquement dans la présentation. Vous devez par ailleurs disposer d'une vue de dessin.
Les invites suivantes s'affichent.
Spécifie une vue dont la vue de détail doit être dérivée.
Spécifie le centre du parent du contour de la vue de détail.
Ce groupe de fonctions est disponible uniquement si vous avez créé une vue de détail à partir d'un modèle Inventor. Lors de la création de vues de détail, vous pouvez uniquement modifier les valeurs des vues de conception.
Définit les options d'affichage de la vue de détail.

Spécifie l'échelle de la vue de détail. Par défaut, l'échelle de la vue de détail est deux fois supérieure à celle de la vue parent ou correspond à la prochaine valeur supérieure de la liste Echelle qui figure dans le groupe de fonctions Apparence du ruban.
Spécifie les options de visibilité à définir pour la vue de détail. Les options de visibilité d'objet sont spécifiques au modèle et certaines options peuvent ne pas être disponibles dans le modèle sélectionné, ainsi que dans la vue du modèle que vous avez créée.
Active ou désactive la visibilité des arêtes d'interférence. Les arêtes d'interférence apparaissent lorsque des corps solides se coupent. Lorsque la visibilité des arêtes d'interférence est activée, le programme trace une ligne à l'intersection des corps solides.
Active ou désactive la visibilité des arêtes tangentes. Les arêtes tangentes marquent la transition entre une surface plane et une arête arrondie. Elles sont généralement considérées comme des arêtes raccordées.
Active ou désactive la visibilité des lignes d'encombrement des plis de tôle. Ces lignes indiquent l'emplacement de transition sur lequel un coude pivote ou se plie, dans une vue de tôlerie aplanie.
Cette option est disponible uniquement si le modèle correspondant possède une vue de tôlerie aplanie définie.
Active ou désactive la visibilité des lignes de filetage sur les vis et les perçages taraudés.
Active ou désactive la visibilité des lignes de montage de présentation. Les lignes de montage sont des lignes figurant dans une vue éclatée (dans un fichier présentation) et indiquant la direction dans laquelle un composant est déplacé jusqu'à une position assemblée.
Spécifie le type du contour de la vue de détail.
Si la déduction de contrainte est activée, le centre de la limite de la vue de détail est associé à un point de la vue parent. Si la déduction de contrainte est désactivée, le centre de la limite de détail n'est pas associée à un point de la vue parent.
Si la déduction de contrainte est activée, l'angle du contour rectangulaire est associé à un point de la vue parent. Si la déduction de contrainte est désactivée, le coin de la limite de détail rectangulaires n'est pas associé à un point de la vue parent.
Le programme détermine toujours, à partir du dessin, la prochaine étiquette de détail disponible.
Indique si le texte de l'étiquette de vue de détail s'affiche.




Spécifie le libellé de la limite de la vue de détail et de la vue de détail générée.
Indique si le texte de l'étiquette de la vue de détail s'affiche.
Déplace la vue de détail, une fois qu'elle a été placée dans la zone de dessin, sans que vous deviez mettre fin à la commande.
Retourne à l'invite précédente ou achève la commande, selon l'endroit où l'option apparaît dans le cycle de commande.