Scheda Contorno dettaglio (finestra di dialogo Modifica stile vista di dettaglio - Set di strumenti AutoCAD Mechanical)

Consente di impostare le proprietà per la linea del contorno di dettaglio, lo spigolo del modello e la linea di connessione delle viste di dettaglio.

Elenco di opzioni

Di seguito sono riportate le opzioni visualizzate.

Linea di contorno

Colore linea
Consente di impostare il colore della linea del contorno di dettaglio. Se si fa clic su Seleziona colore (nella parte inferiore dell'elenco Colore), viene visualizzata la finestra di dialogo corrispondente. È inoltre possibile immettere un nome o un numero di colore.
Nota: Se si seleziona il colore con etichetta "In base a nome della norma di disegno corrente, il colore della linea del contorno di dettaglio viene ottenuto dalla finestra di dialogo Impostazioni proprietà oggetto. Questa opzione è disponibile solo per gli stili delle viste di dettaglio di Set di strumenti AutoCAD Mechanical.
Tipo di linea
Consente di impostare il tipo di linea per il contorno di dettaglio. Se si fa clic su Altro, viene visualizzata la finestra di dialogo Seleziona tipo di linea.
Nota: Se si seleziona il tipo di linea contrassegnato come "In base a nome della norma di disegno corrente", il tipo di linea viene ottenuto dalla finestra di dialogo Impostazioni proprietà oggetto. Questa opzione è disponibile solo per gli stili delle viste di dettaglio di Set di strumenti AutoCAD Mechanical.
Spessore linea
Consente di impostare lo spessore della linea del contorno di dettaglio.
Nota: Se si seleziona lo spessore linea con etichetta "In base a nome della norma di disegno corrente", lo spessore della linea del contorno di dettaglio viene ottenuto dalla finestra di dialogo Impostazioni proprietà oggetto. Questa opzione è disponibile solo per gli stili delle viste di dettaglio di Set di strumenti AutoCAD Mechanical.

Spigolo del modello

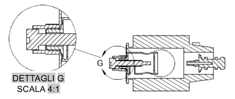
Levigato
Consente di impostare linee di taglio levigate sui modelli nelle viste di dettaglio.
applicato alle viste di dettaglio della documentazione modello applicato alle viste di dettaglio AMDETAIL
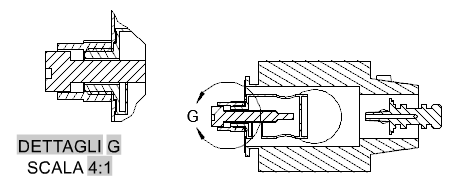
Levigato con bordo
Visualizza un bordo attorno alle viste di dettaglio e imposta linee di taglio levigate sui modelli visualizzati nelle viste di dettaglio.
applicato alle viste di dettaglio della documentazione modello applicato alle viste di dettaglio AMDETAIL
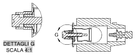
Levigato con linea di connessione
Visualizza una linea di connessione tra il bordo di dettaglio e il contorno della vista di dettaglio. In aggiunta, visualizza un bordo attorno alle viste di dettaglio e imposta linee di taglio levigate sui modelli visualizzati nelle viste di dettaglio.
applicato alle viste di dettaglio della documentazione modello applicato alle viste di dettaglio AMDETAIL
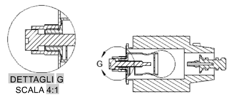
Irregolare
Consente di impostare linee di taglio irregolari sui modelli nelle viste di dettaglio.
applicato alle viste di dettaglio della documentazione modello applicato alle viste di dettaglio AMDETAIL
Nota: Le viste di dettaglio AMDETAIL non supportano linee di taglio irregolari. Quando questa opzione è selezionata, le viste del disegno AMDETAIL si comportano come se fosse selezionata l'opzione Levigato.
Colore linea
Consente di impostare il colore del bordo del dettaglio. Se si fa clic su Seleziona colore (nella parte inferiore dell'elenco Colore), viene visualizzata la finestra di dialogo corrispondente. È inoltre possibile immettere un nome o un numero di colore.
Nota: Se si seleziona il colore con etichetta "In base a nome della norma di disegno corrente, il colore della linea del bordo dettaglio viene ottenuto dalla finestra di dialogo Impostazioni proprietà oggetto. Questa opzione è disponibile solo per gli stili delle viste di dettaglio di Set di strumenti AutoCAD Mechanical.
Tipo di linea
Consente di impostare il tipo di linea per il bordo di dettaglio. Se si fa clic su Altro, viene visualizzata la finestra di dialogo Seleziona tipo di linea.
Nota: Se si seleziona il tipo di linea con etichetta "In base a nome della norma di disegno corrente", il tipo di linea del bordo di dettaglio viene ottenuto dalla finestra di dialogo Impostazioni proprietà oggetto. Questa opzione è disponibile solo per gli stili delle viste di dettaglio di Set di strumenti AutoCAD Mechanical.
Spessore linea
Consente di impostare lo spessore della linea del bordo della vista di dettaglio.
Nota: Se si seleziona il tipo di linea con etichetta "In base a nome della norma di disegno corrente", lo spessore della linea del bordo di dettaglio viene ottenuto dalla finestra di dialogo Impostazioni proprietà oggetto. Questa opzione è disponibile solo per gli stili delle viste di dettaglio di Set di strumenti AutoCAD Mechanical.

Linea di connessione

Colore linea
Consente di impostare il colore della linea che collega il bordo di dettaglio al contorno della vista di dettaglio. Se si fa clic su Seleziona colore (nella parte inferiore dell'elenco Colore), viene visualizzata la finestra di dialogo corrispondente. È inoltre possibile immettere un nome o un numero di colore.
Nota: Se si seleziona il colore con etichetta "In base a nome della norma di disegno corrente, il colore della linea di connessione viene ottenuto dalla finestra di dialogo Impostazioni proprietà oggetto. Questa opzione è disponibile solo per gli stili delle viste di dettaglio di Set di strumenti AutoCAD Mechanical.
Tipo di linea
Consente di impostare il tipo della linea di connessione. Se si fa clic su Altro, viene visualizzata la finestra di dialogo Seleziona tipo di linea.
Nota: Se si seleziona il tipo di linea con etichetta "In base a nome della norma di disegno corrente", il tipo della linea di connessione viene ottenuto dalla finestra di dialogo Impostazioni proprietà oggetto. Questa opzione è disponibile solo per gli stili delle viste di dettaglio di Set di strumenti AutoCAD Mechanical.
Spessore linea
Consente di impostare lo spessore della linea di connessione.
Nota: Se si seleziona il tipo di linea con etichetta "In base a nome della norma di disegno corrente", lo spessore della linea di connessione viene ottenuto dalla finestra di dialogo Impostazioni proprietà oggetto. Questa opzione è disponibile solo per gli stili delle viste di dettaglio di Set di strumenti AutoCAD Mechanical.

Ripristina default

Ripristina tutti i valori di default per le norme di disegno e la revisione su cui è basato lo stile. Questo pulsante è visibile solo per gli stili della vista di dettaglio di Set di strumenti AutoCAD Mechanical.