Edytuje istniejący widok rysunku dokumentacji modelu.
Jeśli wstążka jest aktywna, wskutek działania tego polecenia zostanie wyświetlona kontekstowa karta wstążki Edytor rzutów. Jeśli wstążka nie jest aktywna, należy użyć opcji wiersza polecenia, aby zmienić właściwości widoku do edycji.
Wyświetlane są następujące monity.
Określa widok rysunku do aktualizacji.
Określa typy reprezentacji i umożliwia wybranie reprezentacji, która ma zostać wyświetlona w wybranym widoku rysunku. Reprezentacje są obsługiwane tylko przez modele programu Inventor.
Umożliwia wybranie reprezentacji widoku projektu do wyświetlenia w wybranym widoku rysunku. Wprowadź ? spowoduje wyświetlenie listy dostępnych widoków projektu.
Ta opcja jest dostępna tylko wtedy, gdy wybrany widok rysunku jest tworzony na podstawie zespołu programu Inventor (*.iam), który zawiera reprezentacje widoku projektu.
Umożliwia wybranie reprezentacji pozycyjnej do wyświetlenia w wybranym widoku rysunku. Wprowadź ? spowoduje wyświetlenie listy dostępnych reprezentacji.
Ta opcja jest dostępna tylko wtedy, gdy wybrany widok rysunku jest tworzony na podstawie zespołu programu Inventor (*.iam), który zawiera reprezentacje pozycyjne.
Umożliwia wybranie reprezentacji poziomu szczegółowości do wyświetlenia w wybranym widoku rysunku. Wprowadź ? spowoduje wyświetlenie listy dostępnych reprezentacji.
Ta opcja jest dostępna tylko wtedy, gdy wybrany widok rysunku jest tworzony na podstawie zespołu programu Inventor (*.iam).
Umożliwia wybranie stanu konstrukcji spawanej do wyświetlenia w wybranym widoku rysunku.
Wprowadź ? spowoduje wyświetlenie stanów konstrukcji spawanej i komponentów w stanie przygotowania.
Stan zespołu pokazuje stan zespołu konstrukcji spawanej przed wszystkimi operacjami na nim wykonywanymi. Stan spoin pokazuje zespół po spawaniu. Stan Obróbka pokazuje stan konstrukcji spawanej po operacjach obróbki spoiny. Stan Przygotowanie nie jest wyraźnie wymieniony. Jednak opcja ? spowoduje wyświetlenie nazw komponentów w stanie przygotowania przed spawaniem.
Reprezentacja konstrukcji spawanej jest dostępna tylko wtedy, gdy wybrany widok rysunku jest tworzony na podstawie zespołu konstrukcji spawanej programu Inventor (*.iam).
Umożliwia wybranie elementu z generatora iAssembly lub iPart do wyświetlenia w wybranym widoku rysunku. Wprowadź ? spowoduje wyświetlenie listy dostępnych elementów.
Ta opcja jest dostępna tylko wtedy, gdy wybrany widok rysunku jest tworzony na podstawie generatora iAssembly lub iPart (*.iam, *.ipt).
Umożliwia wybranie widoku konstrukcji blachowej do wyświetlenia w wybranym widoku rysunku. Wprowadź ? spowoduje wyświetlenie listy dostępnych opcji.
Ta opcja jest dostępna tylko wtedy, gdy wybrany widok rysunku jest tworzony na podstawie generatora iAssembly lub iPart (*.iam, *.ipt).
Umożliwia wybranie widoku prezentacji do wyświetlenia w wybranym widoku rysunku. Wprowadź ? spowoduje wyświetlenie listy dostępnych widoków.
Ta opcja jest dostępna tylko wtedy, gdy wybrany widok rysunku jest tworzony na podstawie dokumentu prezentacji programu Inventor (*.ipn).
Określa styl wyświetlania rzutu bazowego.

Określa skalę bezwzględną wybranego widoku rysunku. Aby zmienić skalę, wybierz standardową skalę z listy rozwijanej lub bezpośrednio wprowadź skalę niestandardową.
Domyślnie widoki rzutowane i przekroje dziedziczą taką samą skalę, jaką ma widok macierzysty; widoki szczegółów mają skalę o jeden poziom wyższą niż rzut macierzysty.
Określa opcje widoczności, które można ustawić dla rzutu bazowego.
Powoduje wyłączenie lub włączenie widoczności krawędzi przenikania. Krawędzie przenikania występują, gdy jedna lub więcej brył przecina się ze sobą. Gdy widoczność krawędzi przenikania jest włączona, program rysuje linię w miejscu zetknięcia brył.
Wyłącza lub włącza widoczność krawędzi stycznych. Krawędzie styczne oznaczają przejścia pomiędzy płaską powierzchnią i łukową krawędzią, najczęściej spotykaną jako zaokrąglone krawędzie.
Umożliwia włączenie lub wyłączenie widoczności zakresu gięcia konstrukcji blachowej. Linie zakresu gięcia konstrukcji blachowej wskazują położenie przejścia, wokół którego są zaginane zawiasy lub zawinięcia w spłaszczonym widoku konstrukcji blachowej.
Ta opcja będzie dostępna tylko wtedy, gdy dla odpowiadającego modelu zdefiniowano spłaszczony widok konstrukcji blachowej.
Wyłącza lub włącza widoczność linii gwintu śrub i otworów gwintowanych.
Umożliwia włączenie lub wyłączenie widoczności torów montażu prezentacji. Tory montażu prezentacji to linie w rozbitym widoku (w pliku prezentacji) pokazujące kierunek, wzdłuż którego komponenty są przesuwane do zamocowanego położenia.
Określa, czy metoda rzutowania przekroju jest ortogonalna.
Określa głębokość linii przekroju.
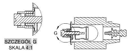
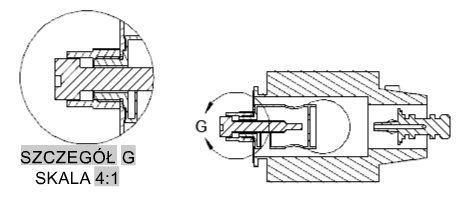
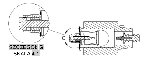
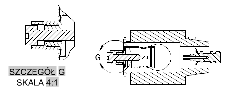
Określa, czy obwiednia widoku szczegółów jest kołowa czy prostokątna. Domyślna jest obwiednia kołowa.




Określa, czy w wybranym widoku przekroju lub widoku szczegółów wyświetlane jest kreskowanie.
Powoduje powrót do poprzedniego monitu lub zakończenie polecenia, w zależności od tego, gdzie w cyklu polecenia występuje ta opcja.