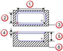
Use the Rectangular Pocket feature to create a rectangular pocket.

— Length
— Width
— Corner radius
— Chamfer
— Depth
— Bottom radius
Note: For a Pocket with a non-rectangular curve, use the more general
Pocket feature.
To do so, enter the pocket diameter in both the length and width fields, and enter the Pocket radius in the corner radius field.