添加特征并演示关联性

    您衍生的零部件实例将建立三维零部件的基本几何图元。衍生零部件后,下一步骤就是添加特征,进一步开发零部件模型。在此,您将使用基本工作流快速入门。

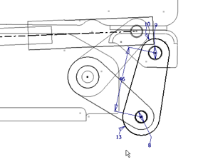
  1. 在浏览器中双击“Link Plate:1”
  2. 在功能区上,单击 “三维模型”选项卡 “创建”面板 “拉伸”
  3. 选择草图几何图元 Link Plate:1,如图所示。
  4. 输入 3.5 mm 作为拉伸距离,并使用反向箭头沿 Z 轴负向拉伸。
  5. 单击“确定”。Link Plate:2 也将更新以反映添加的特征。
  6. 完成对 Link Plate:1 的编辑。
  7. 双击“Pivot Plate:1”并重复必要的步骤以将轴心板拉伸至 3.5 mm 的厚度。
  8. 完成对 Pivot Plate:1 的编辑并保存文件。
  9. 将特征添加到其他零部件实例以进一步开发部件,作为一个练习来做。
  10. 使用“生成零部件”创建零部件引用后,这些引用仍与布局相关联。对块实例形状的更改会在相应零部件中反映。

    激活 Seat Adjust Layout.ipt
  11. 打开“草图1”以进行编辑。
  12. 在浏览器中双击“Link Plate:1”。这将打开 Link Plate 草图块以进行上下文相关的编辑。
  13. 将显示的尺寸更改为 13 mm
  14. 退出块编辑并退出草图。
  15. 激活 Seat Adjust Layout.iam
  16. 单击窗口顶部的“更新”Link Plate:1Link Plate:2 都将更新以反映 Link Plate 块定义中的形状更改。
  17. 练习对布局进行其他更改,以演示关联性的影响力。
  18. 保存文件。

上一页 | 下一页