焊接符号

放置焊接符号

  1. 单击“注释”选项卡 “符号”面板 (符号)。
  2. 类型选择器中,选择适当的焊接符号。

    可以放置下列类型的焊接符号:

    • 圆角
    • 外斜角
    • 斜角
    • V
    • 外 V 角
    • J
    • 条形
    • 方形
    • U
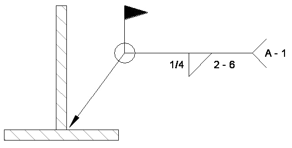
  3. 在绘图区域中要显示符号的位置单击鼠标。
  4. 单击“修改”,然后选择焊接符号。
  5. “属性”选项板上,为焊接符号指定所需的属性。

    可以指定下列焊接符号属性:

    • 顶部符号类型、大小和长度
    • 底部符号类型、大小和长度
    • 等高线符号类型
    • 引线配置
    • 尾和尾注释显示
    • 围焊和现场焊接符号显示
    • 左或右符号的方向

    也可以通过选择焊接符号、然后单击相应的蓝色文本值来编辑各个焊接符号参数。 在编辑框中键入所需的值,然后按 Enter 键。

  6. 您也可在族编辑器中创建焊接符号并将其载入到项目中。 要创建焊接符号族,可使用“常规注释”样板。 请参见打开族编辑器载入和保存族。 当创建焊接符号族时,您会注意到只能在一个视图中查看该族。 与其他注释相同,它是视图专有的。