So platzieren Sie Schweißsymbole
- Klicken Sie auf Registerkarte Beschriften
Gruppe Symbol 
(Symbol).
- Wählen Sie in der Typenwahl das geeignete Schweißsymbol aus.
Sie können folgende Typen von Schweißsymbolen platzieren:
- Kehlnaht
- Halb-Kelchnaht
- HV
- V
- Hinten
- Kelchnaht
- J
- Nut
- I-Naht
- U
- Klicken Sie in den Zeichenbereich an die Stelle, an der das Symbol erscheinen soll.
- Klicken Sie auf Ändern, und wählen Sie das Schweißsymbol aus.
- Definieren Sie in der Palette Eigenschaften die gewünschten Eigenschaften für das Schweißsymbol.
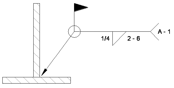
Sie können folgende Schweißsymboleigenschaften angeben:
- Typ, Größe und Länge für oberes Symbol
- Typ, Größe und Länge für unteres Symbol
- Höhenliniensymboltyp
- Führungskonfiguration
- Anzeige von Ende und Endnotiz
- Anzeige von Kreis- und Baustellennahtsymbol
- Linke oder rechte Symbolausrichtung
Sie können auch verschiedene Schweißsymbol-Parameter bearbeiten, indem Sie das Schweißsymbol auswählen und anschließend auf den entsprechenden blauen Textwert klicken. Geben Sie den gewünschten Wert in das Bearbeitungsfeld ein, und drücken Sie die Eingabetaste.
Sie können die Schweißsymbolfamilie auch im Familieneditor erstellen und in das Projekt laden. Verwenden Sie zum Erstellen der Schweißsymbolfamilie die Vorlage für allgemeine Beschriftungen. Weitere Informationen finden Sie unter
Öffnen des Familieneditors und
Laden und Speichern von Familien. Beim Erstellen einer Schweißsymbolfamilie werden Sie feststellen, dass diese nur in einer Ansicht angezeigt wird. Sie ist ebenso wie andere Beschriftungen ansichtsspezifisch.