Düsen am Kopf

Nachdem ein Kopf entweder am Ende des Hauptzylinders oder an einer Düse definiert wurde, können dem Kopf mehrere Düsen hinzugefügt werden. Aktivieren Sie das Kontrollkästchen Düsen an Kopf einbeziehen, und klicken Sie auf die Schaltfläche Düsen am Kopf. Daraufhin wird das Dialogfeld Düsen am Kopf angezeigt.

In der Dropdown-Liste Düsen am Kopf wird die Eingabe für die ausgewählte Düse angezeigt. Klicken Sie auf die Schaltfläche Düse hinzufügen, um dem Kopf eine weitere Düse hinzuzufügen. Klicken Sie auf die Schaltfläche Düse entfernen, um die aktuell ausgewählte Düse zu löschen. Mit der Schaltfläche Düse duplizieren wird eine Kopie der vorhandenen Düse erstellt, falls der Behälter über ähnliche Düsen verfügt. Ändern Sie einfach die Parameter, um die kopierte Düse eindeutig zu definieren.

Folgendes dient zur Verdeutlichung der größtenteils selbsterklärenden Eingabe für Düsen an Köpfen:

Registerkarte Geometrie

  • Beim Erstellen eines Volumennetzes wird der Durchmesser an der Außenkante der Düse gemessen. Die Dicke erstreckt sich nach innen.
  • Mit der Option Öffnung ohne Düse wird eine Bohrung in der Seite des Kopfes mithilfe des Düsendurchmessers erstellt.
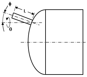
  • Kegelwinkel der Düse: Da der eingegebene Durchmesser der Düse sich auf das Ende bezieht, das weiter entfernt vom Schnittpunkt mit dem Kopf ist, bedeutet ein positiver Kegelwinkel, dass die Düse am Schnittpunkt größer als am anderen Ende ist. Verwenden Sie die Terminologie in Abbildung 1, Tan(α) = (De - D)/2/L, wobei D der benutzerspezifische Durchmesser und De der Durchmesser der Düse am Kopf ist.
  • Aktivieren oder deaktivieren Sie die Düse über das Kontrollkästchen Düse an Kopf einbeziehen. Wenn Sie die Düse deaktivieren, wird sie ausgeblendet, aber die Eingabe bleibt erhalten.

    Legende:

    D = Durchmesser der Düse (Benutzereingabe)

    De = Durchmesser am Schnittpunkt des Kopfes

    L = Länge der Düse (Benutzereingabe)

    α = Kegelwinkel (Benutzereingabe). Tan(α) = (De - D)/2/L

    Abbildung 1: Verjüngte Düse

Registerkarte Position

Eine Definition der Werte zur Positionierung der Düse finden Sie in Abbildung 2.

  • Mithilfe der Dropdown-Liste Schnittpunkt basiert auf wird festgelegt, ob die Abmessungen auf Tatsächlicher Kopf oder auf Flacher Kopf (theoretisch) basieren, d. h. dem Ende des Zylinders. Wenn zum Beispiel eine Düse am Ende eines Zylinders parallel zur Achse des Zylinders ist (Phi-Winkel=0) und die Länge der Düse 5 Fuß beträgt, dann befindet sich bei Verwendung der Option "Schnittpunkt basiert auf: Flacher Kopf" das Ende der Düse 5 Fuß vom Zylinder, unabhängig vom Versatzabstand. Wenn die Option "Schnittpunkt basiert auf: Tatsächliche Kopf" verwendet wird, hängt die Entfernung vom Ende der Düse zum Zylinder von den Abmessungen des Kopfes, dem Versatzabstand usw. ab.
  • Wenn aktiviert, berechnet Senkrecht zum Kopf den Phi- und Theta-Winkel, sodass die Düse senkrecht zum Kopf ist.

Endansicht des Kopfes

Düse wird zur besseren Übersichtlichkeit nicht angezeigt.

Querschnittansicht

Düsenschnittpunkt basierend auf tatsächlichem Kopf.

Querschnittansicht

Düsenschnittpunkt basierend auf flachem Kopf. Es wird nur der Teil der Düse hinter dem tatsächlichen Kopf erstellt.

Legende:

OA = Versatzwinkel

OD = Versatzabstand

L = Länge der Düse

φ = Winkel Phi

ϑ = Winkel Theta

 

Abbildung 2: Positionieren einer Düse auf einem Kopf

Registerkarte Dicke

Wenn Sie ein Ziegelmodell erstellen, kann die Dicke der einzelnen Bauteile oder der Düse auf der Registerkarte Dicke festgelegt werden. (Für Schalen/Hüllen-Netze wird die Dicke der einzelnen Bereiche im FEM-Editor unter der Elementdefinition angegeben.)

Anmerkung: PVDesigner zeigt nicht die Dicke der Teile im Netz an. Die Dicke wird in Autodesk Simulation angezeigt, nachdem Sie PVDesigner beendet haben.