Adición de operaciones e ilustración de la asociación

    Los ejemplares de los componentes que se han derivado establecen la geometría base para los componentes 3D. Una vez que haya derivado los componentes, el siguiente paso es añadir operaciones y seguir desarrollando los modelos de los componentes. Comenzaremos con un flujo de trabajo básico.

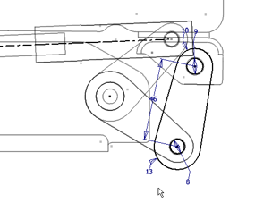
  1. Pulse dos veces en Link Plate:1 en el navegador.
  2. En la cinta de opciones, pulse la ficha Modelo 3D panel Crear Extrusión .
  3. Seleccione la geometría de boceto de Link Plate:1 tal y como se muestra.
  4. Especifique 3,5 mm para la distancia de extrusión y use las flechas de cambio de dirección para extruir en la dirección Z negativa.
  5. Pulse Aceptar. Link Plate:2 se actualiza también para reflejar la operación añadida.
  6. Complete la edición de Link Plate:1.
  7. Pulse dos veces en Pivot Plate:1 y repita los pasos necesarios para extruir las placas del pivote hasta un grosor de 3,5 mm.
  8. Finalice la edición de Pivot Plate:1 y guarde el archivo.
  9. Como ejercicio, añada operaciones a los otros ejemplares de los componentes para seguir desarrollando el ensamblaje.
  10. Después de crear los ejemplares de los componentes usando Crear componentes, permanecen asociados al esbozo. Los cambios realizados en la forma de los ejemplares de los bloques se reflejan en los componentes correspondientes.

    Active Seat Adjust Layout.ipt.
  11. Abra Boceto1 para editarlo.
  12. Pulse dos veces en Link Plate:1 en el navegador. Al hacerlo, se abre el bloque de boceto Link Plate para permitir las ediciones contextuales.
  13. Cambie la cota mostrada a 13 mm.
  14. Salga de la edición del bloque y salga del boceto.
  15. Active Seat Adjust Layout.iam.
  16. Pulse Actualizar en la parte superior de la ventana. Tanto Link Plate:1 como Link Plate:2 se actualizan para reflejar el cambio de forma de la definición de bloque de Link Plate.
  17. Practique con otros cambios del esbozo para descubrir la eficacia de la asociación.
  18. Guarde los archivos.

Anterior | Siguiente