Définition de règles de conflits

L'utilisation de règles d'exclusion de conflits aboutit à un nombre de conflits moins importants puisque cette option permet d'ignorer certaines combinaisons d'éléments conflictuels. L'outil Clash Detective combine des règles de conflit par défaut et des gabarits de règles de conflits qui servent à créer des règles de conflit personnalisées.

Règles de conflits par défaut

Les règles d'exclusion suivantes sont intégrées :

  • Eléments dans le même calque - les éléments conflictuels au sein d'un même calque ne sont pas consignés dans les résultats. Cette option est utile, par exemple, si vous souhaitez exclure les conflits à un même niveau, issus d'un fichier Revit 2014. Les calques ou les niveaux sont indiqués par l'icône dans l'arborescence de sélection.
  • Eléments dans le même groupe, dans le même bloc ou dans la même cellule - les éléments conflictuels appartenant au même groupe (ou bloc inséré), tel qu'une définition de bloc dans AutoCAD ou une définition de cellule dans MicroStation, ne sont pas consignés dans les résultats. Les groupes, les blocs et les cellules sont indiqués par l'icône dans l'arborescence de sélection.
  • Eléments dans le même fichier - les éléments conflictuels au sein d'un même fichier (qu'ils soient inclus ou désignés par une référence externe) ne sont pas consignés dans les résultats. Si votre modèle contient plusieurs fichiers CAO, cette option permet de rechercher uniquement les conflits entre différents fichiers.
  • Eléments dans le même objet composé - les éléments conflictuels faisant partie d'un même objet composé (un objet de CAO unique représenté par un groupe d'éléments de géométrie) ne sont pas consignés dans les résultats. Un objet composé () est un groupe d'éléments de géométrie considéré comme un seul et même objet dans l'arborescence de sélection. Par exemple, un objet fenêtre peut être composé d'un dormant et d'une vitre ou un mur creux peut être constitué de plusieurs calques. Cette règle permet de garantir que les auto-intersections d'un objet CAO sont ignorées. Dans ce cas, la vitre et le cadre de la fenêtre peuvent être modélisés de sorte que les composants se touchent ou se chevauchent. Cette règle permet d'ignorer les conflits entre eux.
  • Eléments dans la paire d'objets composés précédemment trouvée - les éléments conflictuels faisant partie d'objets composés qui ont été signalés précédemment lors du test ne sont pas consignés dans les résultats. Par exemple, lorsqu'un conflit est détecté entre la même paire d'objets composés, ils sont traités comme un seul et même conflit, de sorte qu'un seul conflit est indiqué. L'autre n'est pas prise en compte. Bien que l'option Ignorer les éléments dans le même objet composé exclue les conflits entre les composants d'un objet unique, cette option permet d'exclure plusieurs conflits entre différents objets composés. Cette option est utile pour réduire le nombre de faux positifs. Exemple : un tuyau traversant un mur. Lorsque cette option est sélectionnée, le conflit est pris en compte une seule fois : les conflits de part et d'autre du mur ne sont pas considérés comme des conflits distincts.
  • Eléments avec des points d'accrochage coïncidents - les éléments conflictuels dont les points d'accrochage coïncident ne sont pas consignés dans les résultats, par exemple des conduites de tuyau et des raccords ayant des points d'accrochage à l'extrémité des traits d'axe. Autodesk Navisworks dessine un cylindre sous forme d'une série de triangles pour améliorer les performances (essayez le mode Ligne cachée pour voir comment ils sont dessinés). Selon le facteur de facettage du cylindre, certains triangles risquent de se trouver en conflit entre eux, même s'il était possible d'intégrer le tuyau ou les raccords dans un dessin entièrement rond.

Gabarits de règles

Vous pouvez également créer vos propres règles d'exclusion. Les gabarits de règles suivants sont disponibles (en plus des règles de conflit par défaut) :

  • Epaisseur d'isolation - les éléments conflictuels dont la valeur de jeu dépasse l'épaisseur d'isolation spécifiée ne sont pas inclus dans les résultats. Cette règle doit être appliquée à un test de jeu.

    Considérons une canalisation exigeant une épaisseur d'isolation particulière. Si vous voulez procéder au test du jeu pour cette canalisation, définissez l'épaisseur d'isolation requise comme la tolérance de jeu. Il est alors possible d'identifier toutes les zones où le jeu autour de la canalisation n'est pas suffisant pour la pose de l'isolation.

    Si votre canalisation comporte différents types de tuyaux ayant une épaisseur d'isolation propre, il est préférable de configurer un test avec la tolérance la plus élevée requise (au lieu de configurer un test de jeu pour chacune des épaisseurs d'isolation). Ce faisant, tous les tuyaux exigeront la plus grande épaisseur d'isolation. La règle peut alors être appliquée de manière à ignorer les conflits faussement identifiés (faux positifs), étant donné que l'épaisseur d'isolation réelle des tuyaux incriminés est inférieure au jeu maximal employé.

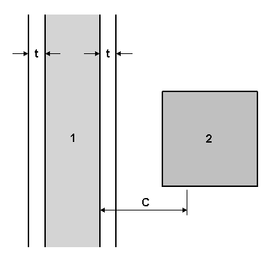
    Reportez-vous au schéma ci-dessous illustrant un exemple d'utilisation de cette règle d'exclusion :

    Le tuyau 1 a une épaisseur d'isolation t et C est le jeu maximal (isolation la plus épaisse) requis dans le modèle actuel. Tout élément (2) compris entre t et C ne sera pas inclus dans les résultats.

  • Même valeur de propriété - les éléments conflictuels qui partagent une valeur de propriété spécifique donnée ne sont pas inclus dans les résultats. Ce gabarit est utile si la même propriété contient des informations.
  • Même jeu de sélection - les éléments conflictuels qui font partie d'un même jeu de sélection ne sont pas inclus dans les résultats.
  • Jeux de sélection spécifiés - les éléments conflictuels qui font partie de deux jeux de sélection spécifiés ne sont pas inclus dans les résultats.
  • Propriétés spécifiées avec la même valeur - les éléments conflictuels ayant une valeur en commun pour deux propriétés différentes ne sont pas inclus dans les résultats. Il s'agit d'un nouveau gabarit de règle. Cette règle permet également de rechercher la propriété au niveau d'un objet parent. Par exemple, la garniture à l'extrémité du tuyau dénote un conflit avec l'embouchure de la pompe. Ces éléments devraient être attachés. La garniture elle-même n'a pas de propriété directement attachée indiquant qu'elle doit être reliée à l'embouchure de la pompe. Toutefois, l'objet parent de la garniture possède cette propriété. Si vous utilisez le gabarit, le test de conflit ignore les conflits entre ces deux éléments.

Exemples d'utilisation des règles de conflits

Les exemples suivants montrent comment il peut être utile d'associer les règles de conflits :

  • Si vous utilisez dans votre modèle un mur creux constitué de plusieurs calques (feuille extérieure, isolation, feuille intérieure, plaque de plâtre), vous pouvez utiliser la règle Eléments dans le même objet composé pour réduire les conflits issus du contact avec les feuilles et la règle Eléments dans la paire d'objets composés précédemment trouvée pour compter tous les conflits avec le mur comme un seul conflit au lieu de quatre.
  • Si vous exécutez la vérification d'une conduite de tuyau avec raccords, vous pouvez utiliser les règles Eléments avec des points d'accrochage coïncidents et Eléments dans la paire d'objets composés précédemment trouvée pour réduire les conflits signalés entre les appareils et les tuyaux et au sein des appareils.
  • Si vous cherchez à vérifier s'il existe des conflits majeurs entre les tuyaux et la structure, utilisez les règles Eléments dans le même fichier et Eléments dans la paire d'objets composés précédemment trouvée pour éviter d'effectuer la recherche dans un fichier de la même discipline et pour consigner un seul résultat de conflit en cas d'intersection d'une discipline et d'un objet composé de plusieurs parties.