Au cours de l'exercice qui suit, vous allez travailler à partir des vues en plan et d'élévation pour ajouter des fenêtres au modèle. A l'aide des outils d'alignement et de cotation, vous allez apprendre à positionner les fenêtres avec plus de précision.
Objectifs
- Placer des fenêtres.
- Dupliquer et modifie un type de fenêtre pour créer une taille de fenêtre différente.
- Utiliser l'outil Aligner pour positionner les fenêtres.
- Utilisez l'outil Cote alignée pour repositionner les fenêtres de sorte qu'elles se trouvent à égale distance les unes des autres.
Visionner la vidéo
Ajout de fenêtres
Positionnement de deux fenêtres
Création d'un type de fenêtre
Alignement des fenêtres
Cote des fenêtres pour un espacement régulier
- Ouvrez un projet GSG_07_place_windows.rvt.
- Dans l'arborescence du projet, sous Elévations (Building Elevation), cliquez deux fois sur South.
- Cliquez sur l'onglet Architecture
le groupe de fonctions Création
(Fenêtre).
- Dans le sélecteur de type, vérifiez que Casement 3x3 with Trim 36" x 48" est sélectionné.
- Le cas échéant, cliquez sur l'onglet Modifier | Placer Fenêtre
le groupe de fonctions Etiquette
(Etiquette à l'insertion) pour placer des étiquettes avec les fenêtres.
- Cliquez pour placer deux fenêtres dans le mur de fondation, comme indiqué, et appuyez deux fois sur la touche Echap pour quitter l'outil Fenêtre.
- Dans la zone de dessin, sélectionnez la fenêtre de droite, puis dans la palette Propriétés, cliquez sur
(Modifier le type).
- Dans la boîte de dialogue Propriétés du type, cliquez sur Dupliquer.
- Dans la boîte de dialogue Nom, tapez 36" x 36", puis cliquez sur OK.
- Sous Cotes, dans le champ Hauteur, entrez 3', puis cliquez sur OK.
- Sélectionnez la fenêtre de gauche, puis dans le Sélecteur de type, choisissez Châssis 3x3 avec cadre 36'' x 36''.
- Cliquez sur l'onglet Modifier
le groupe de fonctions Modifier
(Aligner).
- Cliquez sur la partie supérieure du mur de fondation, puis cliquez sur le bord supérieur de l'ajustement de la fenêtre de droite.
Vérifiez la barre d'état pour vous assurer que vous sélectionnez le haut du mur et non la ligne 02 - Entry Level.
- Répétez les mêmes étapes pour aligner la fenêtre de gauche avec la partie supérieure du mur.
- Cliquez sur
(Modifier).
- Ouvrez le plan d'étage 02 - Entry Level.
- Cliquez sur l'onglet Architecture
le groupe de fonctions Création
(Fenêtre).
- Dans le Sélecteur de type, sélectionnez Casement 3x3 with Trim 36" x 48".
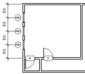
- Positionnez trois fenêtres dans le bord extérieur du mur ouest, comme indiqué.
- Cliquez sur l'onglet Annoter
le groupe de fonctions Cote
(Alignée).
- Sélectionnez le mur nord, les axes de chaque fenêtre, puis le mur intérieur horizontal.
- Cliquez à gauche du mur ouest pour créer la ligne de cote.
Vous remarquerez que chacune des quatre cotes est différente.
- Cliquez sur le symbole d'égalité (EQ), puis appuyez deux fois sur la touche Echap.
Les fenêtres se déplacent de sorte que toutes les cotes sont désormais égales.
- Sélectionnez le mur intérieur sur lequel sont placées les portes, puis déplacez-le vers le haut ou vers le bas pour voir l'impact de ce déplacement sur la conception d'origine.
Partie 8 : Positionnement d'un mur-rideau