Aggiungere lavorazioni e dimostrare l'associatività

    Le istanze di componenti derivate stabiliscono la geometria di base per i componenti 3D. Dopo aver derivato i componenti, è necessario aggiungere le lavorazioni e sviluppare ulteriormente i modelli del componenti. In questa esercitazione viene illustrato un flusso di lavoro di base.

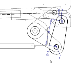
  1. Nel browser, fare doppio clic su Link Plate:1.
  2. Nella barra multifunzione fare clic sulla Scheda Modello 3D gruppo Crea Estrusione .
  3. Selezionare la geometria dello schizzo Link Plate:1 come illustrato.
  4. Immettere 3,5 mm come distanza di estrusione e utilizzare le frecce di inversione della direzione per effettuare l'estrusione nella direzione Z negativa.
  5. Fare clic su OK. Anche Link Plate:2 viene aggiornato per riflettere la lavorazione aggiuntiva.
  6. Completare la modifica di Link Plate:1.
  7. Fare doppio clic su Pivot Plate:1 e ripetere le procedure necessarie per l'estrusione delle piastre di rotazione fino ad uno spessore di 3,5 mm.
  8. Completare la modifica di Pivot Plate:1 e salvare il file.
  9. Per esercitarsi, aggiungere lavorazioni alle altre istanze di componenti, per sviluppare ulteriormente l'assieme.
  10. Una volta create mediante Crea componenti, le istanze dei componenti restano associate allo scheletro. Le modifiche alla forma delle istanze del blocco vengono riportate nei componenti corrispondenti.

    Attivare Seat Adjust Layout.ipt.
  11. Aprire Sketch1 per la modifica.
  12. Nel browser, fare doppio clic su Link Plate:1. Viene aperto il blocco di schizzo Link Plate, per le modifiche contestuali.
  13. Modificare la quota portandola a 13 mm.
  14. Uscire dalla modifica blocco e uscire dallo schizzo.
  15. Attivare Seat Adjust Layout.iam.
  16. Fare clic su Aggiorna nella parte superiore della finestra. Sia Link Plate:1 sia Link Plate:2 vengono aggiornati per riflettere la modifica della forma nella definizione del blocco Link Plate.
  17. Effettuare altre modifiche allo scheletro, per esercitarsi con l'utile funzionalità di associatività.
  18. Salvare i file.

Indietro | Avanti