|
この練習では、立面図ビューと平面図ビューで作業して、モデルに窓を追加します。位置合わせツールと寸法ツールを使用して、より正確に窓を配置します。
目的
2 つの窓を追加する
窓タイプを作成する
窓の位置を合わせる
[寸法]ウィンドウでの等間隔設定
[構築]パネル 
(窓)をクリックします。 
[タグ]パネル
(タグ配置)をクリックし、窓にタグを付けます。 
(タイプを編集)をクリックします。
[修正]パネル 
(位置合わせ)をクリックします。 ステータス バーを確認して、[02 - Entry Level]の線ではなく、壁の上部を選択していることを確かめます。

(修正)をクリックします。
[構築]パネル 
(窓)をクリックします。 
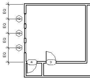
[寸法]パネル 
(平行寸法)をクリックします。 4 つの寸法はそれぞれ異なることに注目してください。

すべての寸法が等しくなるように窓が移動します。
