平面図ビューと同じツールと方法を使用して、立面図ビューで配管を描画します。ただし、異なる視点からレイアウトを表示するため、結果は想定するものになるとは限りません。立面図ビューで描画される配管は、立面図ビューの平面を基準にして描画されます。立面図ビューで描画する場合は、行うアクションの結果を表示させるために、3D ビューまたは平面図ビューを表示したままにしてください。次に、留意すべきいくつかの事項を記します。
新しい配管は、立面図ビューの前景内のビュー平面に最も近い使用可能な接続部に接続されます。使用可能な接続部とは、別の接続部にまだ接続されていない接続部であり、立面図ビューの境界内にあります。(立面図ビューの唯一の境界は、前景内のビュー平面です。)
次の例では、既存の配管(1)の接続部両方が使用可能です。立面図ビューに追加する水平セグメント(2)は、平面図ビューで示すように、ビュー平面に最も近い接続部に接続します(3)。

ビュー範囲内にある 2 つの接続
ビュー範囲内で使用できる接続部が 1 つだけである場合は、その接続が使用されます。次の例では、ビュー平面に最も近い接続が既に使用されています(1)。新しい配管を立面図ビューに追加する場合(2)、唯一の使用可能な接続を使用して、既存の配管の遠端(3)で追加されます。

ビュー範囲内で使用できる接続が 1 つのみ
ビュー範囲内に使用可能な接続部がない場合には、立面図ビュー平面と既存の配管との交点で、新しい配管がティーに接続されます。配管の中心線は、ビュー平面の上に正確に配置されます。
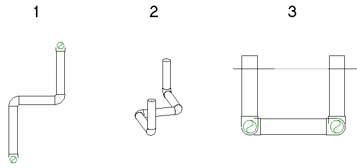
次の例では、2 つの垂直配管セグメントを、立面図ビュー内の配管セクションに追加します。元の配管は、平面図ビュー(1)、関連する 3D ビュー(2)、および[南]立面図ビュー(3)のように表示されます。

生成される垂直セグメントは左から右に、平面図ビュー(1)、関連する 3D ビュー(2)、および[南]立面図ビュー(3)のように表示されます。


この場合では、[南]立面図ビュー(1)で配管を描画すると、Revit の平面図ビュー(2)と 3D ビュー(3)で示すように、ボイラ接続とエルボとの間に短い配管セグメントが追加されます。
