피쳐 추가 및 연관성 표시

    파생한 구성요소 복제는 3D 구성요소에 대한 기준 형상을 설정합니다. 구성요소를 파생시켰으면 이제 피쳐를 추가하고 구성요소 모형을 발전시키는 단계를 수행합니다. 여기에서는 기본 워크플로우로 시작합니다.

  1. 검색기에서 Link Plate:1을 두 번 클릭합니다.
  2. 리본에서 3D 모형 탭 작성 패널 돌출을 클릭합니다 .
  3. 표시된 것처럼 Link Plate:1 스케치 형상을 선택합니다.
  4. 돌출 거리를 3.5 mm로 입력하고 방향 반전 화살표를 사용하여 음의 Z 방향으로 돌출시킵니다.
  5. 확인을 클릭합니다. Link Plate:2도 추가된 피쳐를 반영하기 위해 업데이트됩니다.
  6. Link Plate:1의 편집을 마칩니다.
  7. Pivot Plate:1을 두 번 클릭하고 피벗 플레이트를 3.5mm 두께로 돌출하는 데 필요한 단계를 반복합니다.
  8. Pivot Plate:1의 편집을 마치고 파일을 저장합니다.
  9. 연습으로 피쳐를 다른 구성요소 복제에 추가하여 조립품을 심층적으로 개발합니다.
  10. 구성요소 만들기를 사용하여 구성요소 복제를 작성하면 구성요소 복제가 배치에 연관되어 있습니다. 블록 복제 쉐이프의 변경 사항이 해당 구성요소에 반영되어 있습니다.

    Seat Adjust Layout.ipt를 활성화합니다.
  11. 편집을 위해 스케치1을 엽니다.
  12. 검색기에서 Link Plate:1을 두 번 클릭합니다. 컨텍스트 내 편집을 위해 Link Plate 스케치 블록이 열립니다.
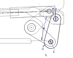
  13. 표시된 치수를 13 mm로 변경합니다.
  14. 블록 편집을 종료하고 스케치를 종료합니다.
  15. Seat Adjust Layout.iam을 활성화합니다.
  16. 창 맨 위에서 업데이트를 클릭합니다. Link^Plate^블록^정의에서^쉐이프^변경^사항을^반영하기^위해^Link Plate:1Link Plate:2가^모두^업데이트됩니다.
  17. 배치에 다른 변경 사항을 적용하여 연관성의 우수성을 보여주는 연습을 해봅니다.
  18. 파일을 저장합니다.

이전 | 다음