간섭 규칙 설정

간섭 무시 규칙을 사용하면 특정 조합의 간섭 항목을 무시하여 간섭 결과 수를 줄일 수 있습니다. Clash Detective 도구에는 사용자 간섭 규칙을 작성하는 데 사용할 수 있는 기본 간섭 규칙 및 간섭 규칙 템플릿이 모두 포함되어 있습니다.

기본 간섭 규칙

기본적으로 제공되는 간섭 무시 규칙은 다음과 같습니다.

  • 동일한 도면층의 항목 - 동일한 도면층의 간섭 항목은 결과에 보고되지 않습니다. 이는 Revit 2014 파일의 동일한 레벨에서 간섭을 무시하려는 경우 등에 유용합니다. 도면층 또는 레벨은 선택 트리에서 아이콘으로 표시됩니다.
  • 동일한 그룹/블록/셀의 항목 - 동일한 그룹 또는 삽입된 블록(예: AutoCAD의 블록 정의 또는 MicroStation의 셀 정의)의 간섭 항목은 결과에 보고되지 않습니다. 그룹, 블록 및 셀은 선택 트리에서 아이콘으로 표시됩니다.
  • 동일한 파일의 항목 - 외부적으로 참조되거나 연결된 동일한 파일의 간섭 항목은 결과에 보고되지 않습니다. 모형에 여러 CAD 파일이 포함된 경우 이 옵션을 사용하여 서로 다른 파일 간의 간섭만 검색할 수 있습니다.
  • 동일한 복합 객체의 항목 - 동일한 복합 객체(형상 항목 그룹으로 표시된 단일 CAD 객체)에 포함된 간섭 항목은 결과에 보고되지 않습니다. 복합 객체()는 선택 트리에서 단일 객체로 간주되는 형상 그룹입니다. 예를 들어 창 객체는 프레임과 창유리로 구성되고, 중공 벽은 여러 도면층으로 구성될 수 있습니다. 이 규칙은 CAD 객체에서 자체 교차를 무시합니다. 이 경우 창유리와 프레임은 부품이 서로 닿거나 겹치도록 모델링될 수 있습니다. 이 규칙은 이러한 부품 간의 간섭을 무시합니다.
  • 이전에 찾은 복합 객체 쌍의 항목 - 테스트에서 이전에 보고된 복합 객체에 포함된 간섭 항목은 결과에 보고되지 않습니다. 예를 들어 동일한 쌍의 복합 객체 간에 간섭이 발견된 경우 이러한 간섭은 단일 간섭으로 처리되므로 간섭이 한 번만 보고되고 나머지 간섭은 무시됩니다. '동일한 복합 객체의 항목 무시'는 단일 객체의 부품 간 간섭을 무시하는 반면, 이 규칙은 서로 다른 복합 객체 간의 여러 간섭을 무시합니다. 이는 가양성(false positive) 항목 수를 줄이는 데 유용합니다. 이에 대한 예로 벽을 통과하는 파이프를 들 수 있습니다. 이 옵션을 선택하면 벽의 한 쪽에서 발생하는 간섭이 별도의 간섭으로 계산되지 않고 전체적으로 간섭이 한 번만 계산됩니다.
  • 일치하는 스냅점의 항목 - 일치하는 스냅점이 있는 간섭 항목은 결과에 보고되지 않습니다(예: 중심선 끝부분의 스냅점이 있는 파이프 런 및 부속품). Autodesk Navisworks에서는 성능을 향상시키기 위해 원통을 일련의 삼각형으로 그립니다(그려지는 방법을 보려면 은선 모드로 전환). 완전한 원이 그려지고 파이프 또는 부속품이 이러한 원형에 꼭 맞는 경우에도 원통의 면분할 계수에 따라 일부 삼각형이 서로 간섭할 수 있습니다.

규칙 템플릿

자신의 고유한 무시 규칙을 작성할 수도 있습니다. 기본 간섭 규칙과 함께 다음과 같은 규칙 템플릿을 사용할 수 있습니다.

  • 단열재 두께 - 지정된 단열재 두께보다 큰 유효 범위 값을 가진 간섭 항목은 결과에 보고되지 않습니다. 이 규칙은 유효 범위 테스트와 함께 사용해야 합니다.

    특정 단열재 두께가 필요한 파이프가 있으면 해당 파이프에 대한 유효 범위 테스트를 실행하여 유효 범위 공차를 필수 단열재 두께로 설정할 수 있습니다. 이는 파이프 주위에 유효 범위가 부족하여 단열재를 설치할 수 없는 영역을 식별합니다.

    파이프가 여러 개 있으며 모든 파이프가 각 두께에 대한 개별적인 유효 범위 테스트를 설정하지 않고 서로 다른 단열재 두께를 필요로 하면 가장 큰 필수 공차의 테스트 하나를 설정할 수 있습니다. 즉, 모든 파이프가 최대 단열재 두께를 필요로 한다고 가정할 수 있습니다. 그러면 파이프의 실제 단열재 두께가 사용된 최대 유효 범위보다 작기 때문에 잘못 식별된 간섭은 무시하도록 이 규칙이 적용될 수 있습니다.

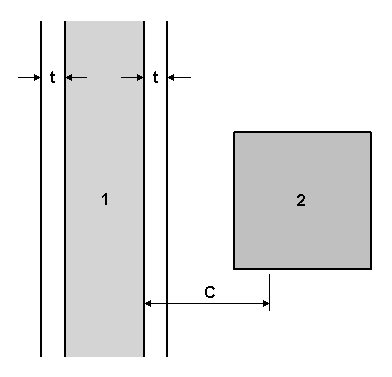
    아래의 다이어그램에서는 이러한 무시 규칙이 적용되는 경우의 예를 보여 줍니다.

    파이프 1의 단열재 두께는 t이며 C는 현재 모형의 모든 곳에 필요한 최대 유효 범위(가장 두꺼운 단열재)입니다. t에서 C까지의 범위 내에 있는 항목(2)은 결과에 보고되지 않습니다.

  • 동일한 특성 값 - 특정 특성 값을 공유하는 간섭 항목은 결과에 보고되지 않습니다. 동일한 특성에 대한 정보가 저장되어 있는 경우 이 템플릿을 사용할 수 있습니다.
  • 동일한 선택 세트 - 동일한 선택 세트 내에 포함된 간섭 항목은 결과에 보고되지 않습니다.
  • 지정한 선택 세트 - 지정한 두 선택 세트 내에 포함된 간섭 항목은 결과에 보고되지 않습니다.
  • 동일한 값의 지정된 특성 - 동일한 값을 공유하지만 서로 다른 두 개의 특성에 대한 간섭 항목은 결과에 보고되지 않습니다. 이는 새 규칙 템플릿입니다. 또한 이 규칙을 사용하면 모든 상위 객체에 대한 특성을 찾을 수 있습니다. 예를 들어 파이프 끝에 있는 패킹은 펌프 노즐이 있는 간섭으로 등록됩니다. 이러한 항목은 연결되어야 합니다. 패킹 자체에는 펌프 노즐에 연결되어야 함을 식별하는 특성이 직접 연결되어 있지 않지만 패킹의 상위 객체에는 이러한 특성이 연결되어 있습니다. 이 템플릿을 사용하는 경우 간섭 테스트에서 이러한 두 항목 간의 간섭을 무시합니다.

간섭 규칙 사용 예

다음 예제에서는 간섭 규칙을 결합할 경우의 이점을 보여 줍니다.

  • 외부 리프, 단열재, 내부 리프, 플라스터 보드 등의 여러 도면층으로 구성된 모형에서 중공 벽을 사용할 경우 동일한 복합 객체의 항목 규칙을 사용하여 접촉하는 리프의 간섭을 줄이고 이전에 찾은 복합 객체 쌍의 항목 규칙을 사용하여 벽과의 모든 간섭을 4개가 아니라 단일 간섭으로 계산할 수 있습니다.
  • 부속품이 있는 파이프 런을 검사할 경우 일치하는 스냅점의 항목이전에 찾은 복합 객체 쌍의 항목 규칙을 사용하여 설비와 파이프 간에 보고되는 간섭 및 설비 내에서 보고되는 간섭을 줄일 수 있습니다.
  • 파이프와 구조물 간의 주요 간섭을 검사하려는 경우 동일한 파일의 항목이전에 찾은 복합 객체 쌍의 항목 규칙을 사용하여 동일한 분야의 파일 내 검사를 피하고 하나의 분야가 여러 부품으로 구성된 복합 객체를 교차하는 단일 간섭 결과만 보고하도록 할 수 있습니다.