Definir as regras de interferência

Utilizar ignorar regras de interferência reduz o número de resultados de interferência ao ignorar determinadas combinações de itens com interferência. A ferramenta Clash Detective inclui a regras de interferência padrão e os modelos de regras de interferência que podem ser utilizadas para criar regras personalizadas de interferência.

Regras personalizadas de interferência

As seguintes regras para ignorar interferências estão embutidas:

  • Items in Same Layer - quaisquer itens com interferência encontrados que estão na mesma camada, não são reportados nos resultados. Isso é útil se, por exemplo, você deseja ignorar interferências no mesmo nível de um arquivo Revit 2014. Camadas ou níveis são indicados pelo ícone na Selection Tree.
  • Items in Same Group/Block/Cell - quaisquer itens encontrados com interferência que estiverem no mesmo grupo (ou bloco inserido), como definições de bloco do AutoCAD ou de célula do MicroStation, não serão relatados nos resultados. Grupos, blocos e células são indicados pelo ícone na Selection Tree.
  • Items in Same File - quaisquer itens com interferência encontrados que estão no mesmo arquivo (referenciado externamente ou anexado), não são reportados nos resultados. Se o modelo contiver vários arquivos CAD, esta opção permite somente pesquisar as interferências entre arquivos diferentes.
  • Items in Same Composite Object - quaisquer itens com interferência que fizerem parte do mesmo objeto composto (um único objeto de CAD representado por um grupo de itens de geometria) não serão relatados nos resultados. Um objeto composto () é um grupo de geometrias considerado como um objeto único na Selection Tree. Por exemplo, um objeto de janela pode ser composto por uma estrutura e um painel, ou uma parede com cavidade pode ser criada por meio de várias camadas. Essa regra garante que autointersecções em um objeto de CAD sejam ignoradas. Nesse caso, o painel da janela e a estrutura podem ser modelados para que as peças se toquem ou se sobreponham. Essa regra ignora as interferências entre eles.
  • Items in Previously Found Pair of Composite Objects - todos os itens que exercerem interferência e fizerem parte de objetos compostos relatados anteriormente no teste não serão relatados nos resultados. Por exemplo, quando uma interferência for encontrada no mesmo par de objetos compostos, eles serão tratados como uma única interferência. Sendo assim, somente uma interferência é relatada. O outro é ignorado. Enquanto 'Ignore Items in same composite object' ignora interferências entre as peças de um objeto único, essa opção ignora várias interferências entre diferentes objetos compostos. Isso é útil para reduzir o número de falsos positivos. Um exemplo disso pode ser um tubo passando através de uma parede. Com esta opção selecionada, a interferência pode ser contada só uma vez, e não como interferências separadas, no caso de interferências em cada lado da parede.
  • Items with Coincident Snap Points - quaisquer itens encontrados com interferência que tenham pontos de snap coincidentes não serão relatados nos resultados. Por exemplo, trechos de tubos e acessórios que possuam pontos de snap no final das linhas de centro. OAutodesk Navisworks desenha um cilindro como uma série de triângulos para melhorar o desempenho (utilize o modo Hidden Line para ver como eles são desenhados). Dependendo do fator de facetamento do cilindro, alguns dos triângulos podem interferir entre si, mesmo se o tubo ou os acessórios se encaixassem como se tivessem sido desenhados de forma completamente redonda.

Modelos de regras

Você também pode criar suas próprias regras para ignorar interferências. Os seguintes modelos de regras estão disponíveis (além das regras de interferência padrão):

  • Insulation Thickness - quaisquer itens com interferência encontrados que tenham um valor de obstrução maior do que a espessura da isolação especificada, não são reportados nos resultados. Esta regra deveria ser utilizada com um teste Clearance.

    Se você tem um tubo que requer um espessura específica de isolação, então poderá desejar executar um teste de obstrução naquele tubo, definindo a tolerância de obstrução para a espessura requerida de isolação. Isso iria identificar quaisquer áreas onde não há espaço suficiente em torno do tubo para instalar a isolação.

    Se você tem diversos tubos, todos requerendo diferentes espessuras de isolação, ao invés de definir um teste de obstrução separado para cada espessura, poderá definir um teste com a maior tolerância necessária, ou seja, assumir que todos os tubos requerem a espessura máxima de isolação. Esta regra pode ser aplicada para ignorar quaisquer interferências que são falsamente identificadas, já que sua espessura real de isolação é menor do que o espaço máximo utilizado.

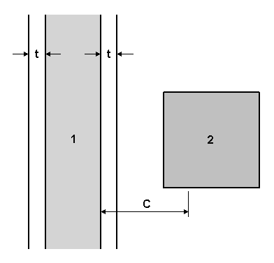
    Consulte o diagrama baixo para obter um exemplo de onde esta regra para ignorar seria aplicada:

    O tubo 1 tem espessura de isolação t e C é o espaço máximo (isolação mais espessa) requerida em qualquer lugar no modelo. Quaisquer itens (2) que estejam na faixa de t a C não serão reportados nos resultados.

  • Same Property Value - quaisquer itens de interferência encontrados que compartilham um valor de propriedade específico, não serão reportados no resultados. Este modelo pode ser utilizado quando as informações estão armazenadas na mesma propriedade.
  • Same Selection Sets - quaisquer itens de interferência encontrados que estejam contidos no mesmo conjunto de seleção especificado, não serão reportados no resultados.
  • Specified Selection Sets - quaisquer itens de interferência encontrados que estejam contidos nos dois conjuntos de seleção especificados, não serão reportados no resultados.
  • Specified Properties with the Same Value - quaisquer itens de interferência encontrados que compartilham o mesmo valor, mas estão em duas propriedades diferentes, não serão reportados no resultados. Este é um novo modelo de regras. Esta regra também permite procurar pela propriedade em qualquer objeto principal. Por exemplo, a gaxeta encontrada na extremidade de um tubo é registrada como uma interferência com o bico de uma bomba. Estes itens deveriam estar conectados. A própria gaxeta não tem nenhuma propriedade diretamente nela para identificar que deviria ser conectada ao bico da bomba, no entanto, o objeto principal da gaxeta o tem. Se você utilizar este modelo, o teste de interferência ignora as interferências entre estes dois itens.

Exemplos de utilização das Clash Rules

O exemplo a seguir mostra como pode ser útil combinar as regras de interferência:

  • Se você estiver utilizando uma parede com cavidade no modelo que seja composta por várias camadas como folha externa, isolamento, folha interna e placa de gesso, será possível utilizar a regra Items in Same Composite Object para reduzir as interferências entre o contato de folhas e usar a regra Items in Previously Found Pair of Composite Objects para contar quaisquer interferências com a parede como uma única interferência, em vez de quatro.
  • Se você estiver executando uma verificação de um trecho de tubo com acessórios, é possível utilizar as regras Items with Coincident Snap Points e Items in Previously Found Pair of Composite Objects para reduzir as interferências relatadas entre luminárias e tubos, assim como dentro das luminárias.
  • Se você desejar a verificação das principais interferências entre os tubos e a estrutura, utilize as regras Items in Same File e Items in Previously Found Pair of Composite Objects para evitar olhar em um arquivo da mesma disciplina, e somente relatar um único resultado de interferência sempre que uma disciplina efetuar a intersecção com um objeto composto de várias peças.