標註可以是關聯式的、非關聯式的或分解的。關聯式標註會根據它們測量的幾何物件的變更而進行調整。
標註的關聯性定義了幾何物件與標註之間的關係,而標註提供幾何物件的距離與角度。在幾何物件與標註之間有三種關聯性類型。
您可以透過選取標註並執行下列動作之一,來決定某個標註是關聯式還是非關聯式:
當僅有標註的一端與幾何物件相關聯,則該標註也被認為是局部關聯式的。您可以使用 DIMREASSOCIATE 指令重新建立非關聯式標註。
標註和物件之間的關聯性可能會因幾點原因遺失。例如:
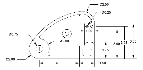
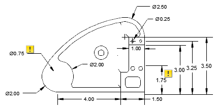
您可以使用註解監視來追蹤引線關聯性。當註解監視器開啟時,系統會在標註上顯示一個徽章,標示該標註已遺失關聯性。

更新事件之前

更新事件之後
按一下徽章會顯示一個功能表,其中含有與已取消關聯性的註解對應的專用選項。已遺失關聯性之標註上的功能表,會提供您存取 DIMREASSOCIATE 和 ERASE 指令。
平移或縮放後、開啟在先前版本中修改過的圖面後、或開啟已修改其外部參考的圖面後,您可能需要使用 DIMREGEN 來更新關聯式標註。
關聯式標註支援大多數您希望標註的物件類型,但是不支援下列物件,如:
如果已開啟圖面並以 AutoCAD pre-2012 版本重新儲存,則關聯至模型圖面視圖的標註可能會失去其關聯性。