Access tools for creating new fiber, matrix, core, or lamina materials and new laminates or thickness/angle templates.
The second drop-down menu that appears at the top of the Simulation Composite Design GUI is the New Item menu. Each of the seven options available under the New Item menu is described below.
- New Fiber
- Create a new fiber material. Selecting this option brings up the New Fiber window where you define the name of the new fiber material and specify its properties. Click Save to add the new fiber material to the material database. To abandon the new fiber material without saving it to the material database, click Close.
- New Matrix
- Create a new matrix material. Selecting this option brings up the New Matrix window where you can define the name of the new matrix material and specify its properties. Click Save to add the new matrix material to the material database. To abandon the new matrix material without saving it to the material database, click Close.
- New Lamina
- Create a new lamina material. Selecting this option brings up the New Lamina window where you can define the name of the new lamina material and specify its properties. Click Save to add the new lamina material to the Simulation Composite Design material database. To abandon the new lamina material without saving it to the material database, click Close.
- New Lamina From Micromechanics
- Create a new lamina material when you do not know the properties and/or strengths of the new lamina material. When this option is selected, Simulation Composite Design uses micromechanics to compute the properties of the new lamina material from properties of the fiber and matrix materials you selected. Selecting this option brings up the Calculate Lamina Properties window which contains two tabs. The first (default) tab is the Calculator tab. This tab allows you to select a fiber, matrix, and a fiber volume fraction or matrix volume fraction. Pressing the Calculate button invokes Simulation Composite Design's micromechanics module which computes the material properties and strengths of the new lamina. The computed properties of the new lamina are then displayed in the Results tab. To add the new lamina material to the material database, press the Save button under the Results tab. Alternately, you may go back to the Calculator tab to change the lamina's constituent materials or change the fiber volume fraction and re-compute the properties of the new lamina. To abandon the new lamina material without saving it to the material database, simply close the Calculate Lamina Properties window without pressing the Save button.
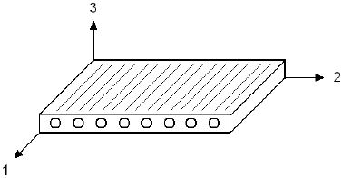
- Micromechanics is the theory by which lamina mechanical properties are calculated based upon the lamina's fiber, matrix, and fiber volume fraction. The principal material coordinate system for the lamina is shown below. The fibers are assumed to be continuous and oriented parallel with the '1' direction. The fibers are primarily responsible for the high strength and stiffness of the lamina in the '1' direction. The matrix material (or resin) provides inter-fiber elastic support, thus giving stability to the collection of reinforcing fibers. The matrix is primarily responsible for providing the lamina's stiffness and strength in the '2' and '3' directions (perpendicular to the fibers), as well as the shear stiffness and strength of the lamina in the three principal planes.
- The Simulation Composite Design micromechanics module, developed for polymer matrix composites, computes the elastic properties of the lamina using a quasi-3D micromechanical finite element model. The finite element model assumes a uniform hexagonal array of fibers distributed in the matrix material. The micromechanics module computes the strengths of the lamina using various closed form expressions for the strain-to-failure in various fundamental modes of deformation.
- The finite element micromechanics model is not available for fiber volume fractions less than 30%. In this case the elastic constants are calculated using well known closed form algebraic solutions.
See the pages that follow for more detailed information on the process of creating a new lamina material (Creating a New Fiber, Matrix, Core, and Lamina and Calculating New Lamina Properties from Micromechanics).
- New Core
- Create a new core material. Selecting this option brings up the New Core window where you can define the name of the new core material and specify its properties. Click Save to add the new core material to the material database. To abandon the new core material without saving it to the material database, click Close.
- New Thickness/Angle Template
-
Create a new thickness/angle template. A thickness/angle template is a collection of data that completely defines the geometry of a laminate, but does not have any specific materials associated with it. This geometric data includes the number of plies in the laminate, the thickness of each ply, and the fiber orientation of each ply. A thickness/angle template can be used to during the creation of a new laminate to instantly supply all of the geometric information needed. Thus, stored thickness\angle templates are useful for providing easy access to certain laminate geometries you anticipate using frequently. See the Creating a New Thickness/Angle Template section for more detailed information on the process of creating a new thickness/angle template.
- New Laminate
- Create a new laminate. Selecting this option brings up the New Laminate window which lets you define the name of the laminate, the geometry of the laminate, and identify the materials used for each of the laminate's material plies. The Creating a New Laminate section provides detailed information on using this option.
See the Creating a New Laminate section for more detailed information on the process of creating a new laminate.
Laminate Coordinate System (left) and Cylindrical Laminate Tube Coordinate System (right)