Cette boîte de dialogue sert à définir l’entourage du type d’élément sélectionné. C’est l’entourage qui décide de la longueur des éléments aboutissants dessinés.
Pour afficher la boîte de dialogue Eléments aboutissants, procédez comme suit :
Pour Nom du style, entrez le nom du style de composant et cliquez sur Enregistrer (option disponible uniquement lors de la création d'un style et non lors de la modification d'un style existant).

Dans la boîte de dialogue ci-dessus, vous pouvez déterminer les dimensions constituant l’entourage de l’élément choisi.
Pour les différents types d'éléments, vous pouvez configurer les paramètres suivants :
| Type d'élément |
Aperçu |
Paramètres |
| Poutre |
|
X, Y Z1, Z2 |
| Longrine |
|
X, Y Z1, Z2 |
| Poteau |
|
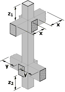
X, Y Z1, Z2 |
|
Semelle isolée |
|
Z |
|
Catalogue de voiles |
|
X, Y Z1, Z2 |
|
Catalogue de semelles filantes |
|
Z |
|
Dalle |
|
X, Y Z1, Z2 |
|
Catalogue de radiers |
|
X, Y Z1, Z2 |
|
Linteau |
|
X, Y Z1, Z2 |
|
Couronne |
|
X, Y Z1, Z2
|
|
Escalier |
|
X, Y Z1, Z2 |
|
Groupe |
|
X, Y Z1, Z2 |