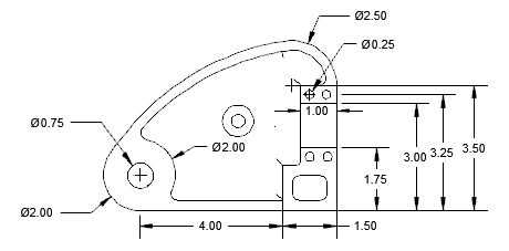
A méretek lehetnek asszociatívak, nem asszociatívak vagy szétvetettek. Az asszociatív méretek igazodnak a mért geometriai objektumok változásaihoz.
A méretasszociativitás a geometriai objektumok és a távolságukat vagy szögüket megadó méretek közötti viszonyt definiálja. Három fajta asszociativitás létezik a geometriai objektumok és a méretek között.
Annak meghatározásához, hogy egy méret asszociatív vagy nem asszociatív, válassza ki a méretet, és tegye a következők egyikét:
Egy méret részben asszociatív, ha csak az egyik vége van hozzárendelve egy geometriai objektumhoz. A MÉRETÚJRACSATOL paranccsal újracsatolhatja a nem asszociatív méreteket.
A méret és az objektum közötti asszociativitás több okból is elveszhet. Például:
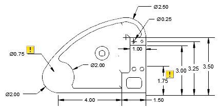
A feliratozásfigyelő segítségével nyomon követheti a mutatók asszociativitását. Bekapcsolt állapotban a feliratozásfigyelő egy figyelmeztető jellel jelöli meg az asszociativitást elvesztő méreteket.

Frissítési esemény előtt

Frissítési esemény után
A figyelmeztető jelre kattintva megjelenik egy menü, amely a megfelelő leválasztott feliratozásra érvényes opciókat tartalmaz. Az asszociativitását vesztett méretek menüjéből elérhető a MÉRETÚJRACSATOL és a RADÍR parancs.
Előfordulhat, hogy szükség lesz a MÉRETREGEN parancs használatára és az asszociatív méretek frissítésére, ha eltolási vagy zoomolási műveletet hajtott végre, illetve ha korábbi programverzióban módosított rajzot, vagy módosított külső referenciákat tartalmazó rajzot nyitott meg.
Az asszociatív méretek támogatják a legtöbb olyan objektumtípust, amelyek valószínűsíthetően méretezhetők. Nem támogatják például az alábbi objektumokat:
A modell rajznézetekhez társított méretek elveszthetik asszociativitásukat, ha a rajzot az AutoCAD valamelyik, 2012-esnél korábbi kiadásában megnyitják és újra mentik.