Imposta le proprietà per la linea del contorno di dettaglio, lo spigolo del modello e la linea di connessione delle viste di dettaglio.

Elenco di opzioni
Vengono visualizzate le opzioni seguenti:
Linea di contorno
- Colore linea
- Consente di impostare il colore della linea del contorno di dettaglio. Facendo clic su Seleziona colore, nella parte inferiore dell'elenco Colore, viene visualizzata la finestra di dialogo Seleziona colore. È inoltre possibile immettere un numero o un nome di colore.
- Tipo di linea
- Consente di impostare il tipo di linea per il contorno di dettaglio. Se si fa clic su Altro, viene visualizzata la finestra di dialogo Seleziona tipo di linea.
- Spessore di linea
- Consente di impostare lo spessore della linea del contorno di dettaglio.
Spigolo del modello
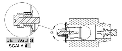
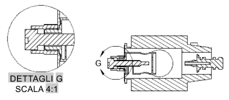
- Uniforme
- Consente di impostare linee di taglio levigate sui modelli nelle viste di dettaglio.
- Uniforme con bordo
- Visualizza un bordo attorno alle viste di dettaglio e imposta linee di taglio uniformi sui modelli visualizzati nelle viste di dettaglio.
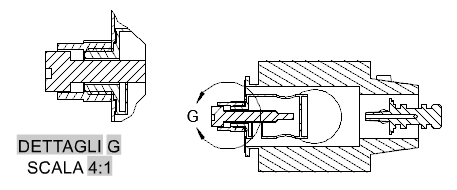
- Uniforme con linea di connessione
- Visualizza una linea di connessione tra il contorno di dettaglio e il contorno della vista di dettaglio. Visualizza, inoltre, un bordo attorno alle viste di dettaglio e imposta linee di taglio uniformi sui modelli visualizzati nelle viste di dettaglio.
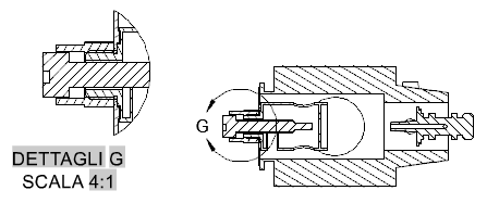
- Irregolare
- Consente di impostare linee di taglio irregolari sui modelli nelle viste di dettaglio.
- Colore linea
- Consente di impostare il colore del bordo della vista di dettaglio. Facendo clic su Seleziona colore, nella parte inferiore dell'elenco Colore, viene visualizzata la finestra di dialogo Seleziona colore. È inoltre possibile immettere un numero o un nome di colore.
- Tipo di linea
- Consente di impostare il tipo di linea per il bordo della vista di dettaglio. Se si fa clic su Altro, viene visualizzata la finestra di dialogo Seleziona tipo di linea.
- Spessore di linea
- Consente di impostare lo spessore della linea del bordo della vista di dettaglio.
Linea di connessione
- Colore linea
- Consente di impostare il colore della linea di connessione. Facendo clic su Seleziona colore, nella parte inferiore dell'elenco Colore, viene visualizzata la finestra di dialogo Seleziona colore. È inoltre possibile immettere un numero o un nome di colore.
- Tipo di linea
- Consente di impostare il tipo per la linea di connessione. Se si fa clic su Altro, viene visualizzata la finestra di dialogo Seleziona tipo di linea.
- Spessore di linea
- Consente di impostare lo spessore della linea di connessione.