寸法には、自動調整寸法、非自動調整寸法、分解寸法があります。自動調整寸法は、対象のジオメトリ オブジェクトが変更されると、その変更に合わせて調整されます。
寸法の自動調整により、ジオメトリ オブジェクトと、オブジェクトの距離や角度を示す寸法との関係が定義されます。ジオメトリ オブジェクトと寸法の間には次の 3 種類の自動調整があります。
寸法が自動調整か非自動調整かを判断するには、寸法を選択し、次のいずれかの方法を使用できます。
寸法の一方の端点だけがジオメトリ オブジェクトに関連付けられている場合は、部分的に自動調整寸法とみなされます。DIMREASSOCIATE[寸法自動調整再割り当て]コマンドを使用すると、非自動調整寸法に自動調整を再割り当てすることができます。
寸法とオブジェクトの間の自動調整は、いくつかの理由で解除されることがあります。例:
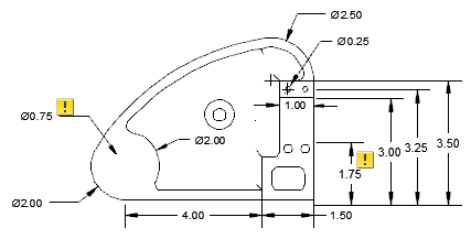
注釈モニターを使用して、引出線の自動調整を追跡できます。注釈モニターがオンのとき、自動調整が解除された寸法にフラグが付き、寸法に警告アイコンが表示されます。

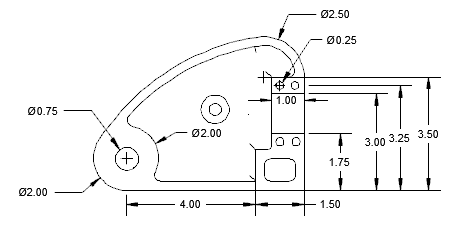
更新イベント前

更新イベント後
警告アイコンをクリックすると、対応する自動調整が解除された注釈に固有のオプションを含むメニューが表示されます。自動調整が解除された寸法のメニューから、DIMREASSOCIATE[寸法自動調整再割り当て]および ERASE[削除]コマンドにアクセスできます。
画面移動またはズームした後や、旧バージョンで修正された図面を開いた後、修正された外部参照を含む図面を開いた後は、DIMREGEN[寸法位置更新]コマンドを使用して自動調整寸法を更新しなければならない場合があります。
自動調整寸法は、寸法を記入するほとんどのタイプのオブジェクトに使用できます。次のオブジェクトには使用できません。
モデル図面ビューに関連付けられた寸法は、この図面を AutoCAD のバージョン 2012 以前で開いて再保存されると、関連付けが解除される可能性があります。