ヘッドのノズル

本体のシリンダの端またはノズルの上でヘッドが定義されると、そのヘッドに複数ノズルを追加することができます。[ヘッドのノズルを含む]チェック ボックスをオンにし、[ヘッドのノズル]ボタンをクリックします。[ヘッドのノズル]ダイアログが表示されます。

選択したノズルに関して入力した内容が[ヘッドのノズル]ドロップダウンに表示されます。他のノズルをヘッドに追加する場合は、[ノズルを追加]ボタンをクリックします。現在選択しているノズルを削除する場合は、[ノズルを削除]ボタンをクリックします。[ノズルを複製]ボタンをクリックすると既存のノズルがコピーされます。コピーされたノズルのパラメータを変更することで、類似した複数ノズルを容器に追加することができます。

ここからは、ヘッドのノズルに関する入力項目について説明します。

[ジオメトリ]タブ

  • ソリッド メッシュを作成する場合、直径はノズルの外面までの長さとして計測されます。また、厚みは内側に向かって形成されます。
  • [ノズルなしの開口部]を使用すると、ノズルの直径を基にしてヘッドの側面に穴を作成できます。
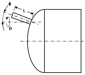
  • [ノズルのテーパ角度]: 入力したノズルの直径は、ヘッドとの接続側とは反対の端の直径を表すため、テーパ角度が正であれば、ノズルは接続側の直径の方がその反対側の直径よりも長いことになります。図 1 の記号を使用すれば、Tan(α) = (De - D)/2/L となります。ただし、D はユーザが入力した直径、De はヘッド側のノズルの直径です。
  • ノズルの有効化/無効化は、[ヘッドのノズルを含む]チェック ボックスで切り替えることができます。無効にしたノズルは非表示になりますが、その入力内容は保持されます。

    図 1: テーパ ノズル

    キー:

    D = ノズルの直径(ユーザ入力)
    De = ヘッドと接続する側の直径
    L = ノズルの長さ(ユーザ入力)
    α =·テーパ角(ユーザ入力)Tan(α) = (De - D)/2/L

[位置]タブ:

図 2 は、ノズルの位置を指定するさまざまな値の定義を示したものです。

  • [交差は基づく]ドロップダウンでは、[実際のヘッド]と仮想的な[平らなヘッド](つまりシリンダの端)のどちらを寸法の基準にするかを指定できます。たとえば、シリンダの端にあるノズルがシリンダの軸と平行(Phi 角 = 0)であり、かつノズルの長さが 5 フィートの場合、接続の基準として[平らなヘッド]を指定すると、オフセット距離とは関係なく、ノズルの端からシリンダまでは 5 フィートになります。[交差は基づく]で[実際のヘッド]を指定した場合は、ノズル端からシリンダまでの距離はヘッドの寸法やオフセット距離などによって異なります。
  • [ヘッドに垂直]をオンにすると、ノズルがヘッドに対して垂直になるように Phi 角およびシータ角が計算されます。

ヘッドの端面図

ノズルの位置が不明確。

断面図

実際のヘッドを基準にしてノズルが接続された場合。

 

断面図

平らなヘッドを基準にしてノズルが接続された場合。ノズルは実際のヘッドより上の部分のみ作成されます。

図 2: ヘッドに対するノズルの位置指定

キー:

OA = オフセット角度
OD = オフセット距離
L = ノズルの長さ
φ = Phi 角
ϑ = シータ角

[厚さ]タブ

ブリック モデルを作成している場合は、各パーツやノズルの厚さを[厚さ]タブで指定することはできません。(プレート要素/シェル要素のメッシュの場合、各領域の厚さは[要素定義]の[FEA エディタ]で指定します。)

注: PVDesigner では、メッシュの各部の厚さは表示されません。PVDesigner を終了すると、Autodesk Simulation に厚さが表示されます。