Это диалоговое окно используется для определения параметров элементов, которые примыкают к элементу выбранного типа. Эти параметры задают длину примыкающих друг к другу элементов на чертеже.
Открытие диалогового окна "Присоединенные элементы":
В поле "Имя стиля" введите имя для стиля компонента и нажмите кнопку "Сохранить" (это доступно только при создании стиля, но не при изменении существующего).

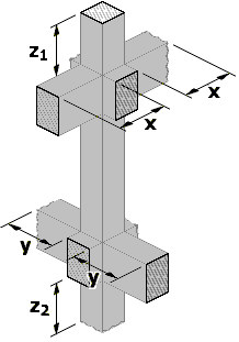
В диалоговом окне "Присоединенные элементы" указаны размеры, которые создают окружение выбранного типа элемента.
Для отдельных типов элементов конструкции можно выбирать следующие параметры:
| Тип элемента |
Просмотр |
Параметры |
| Балка |
|
X, Y, Z1, Z2 |
| Фундаментная балка |
|
X, Y, Z1, Z2 |
| Колонна |
|
X, Y, Z1, Z2 |
|
Отдельный фундамент |
|
Z |
|
Стена |
|
X, Y, Z1, Z2 |
|
Ленточный фундамент |
|
Z |
|
Плита перекрытия |
|
X, Y, Z1, Z2 |
|
Плитный фундамент |
|
X, Y, Z1, Z2 |
|
Перемычка |
|
X, Y, Z1, Z2 |
|
Кольцевая балка |
|
X, Y, Z1, Z2
|
|
Лестница |
|
X, Y, Z1, Z2 |
|
Группа |
|
X, Y, Z1, Z2 |