Задание правил для конфликтов

Использование правил игнорирования конфликтов сокращает количество результатов проверок на наличие конфликтов из-за того, что некоторые комбинации конфликтующих элементов не учитываются. Инструмент Диспетчер конфликтов содержит правила для конфликтов, используемые по умолчанию, а также шаблоны правил, которые могут использоваться для создания пользовательских правил проверок на наличие конфликтов.

Используемые по умолчанию правила для конфликтов

Встроенными являются следующие правила игнорирования конфликтов:

  • Элементы на одном слое — в результат не включаются все конфликтующие элементы, находящиеся на одном и том же слое. Это удобно, например, в том случае, если нужно игнорировать конфликты на одном уровне файла Revit (версии 2014 или более поздней). Слой или уровень обозначаются значком в дереве выбора.
  • "Элементы в одной группе/блоке/ячейке" — все найденные конфликтующие элементы, находящиеся в одной группе (или вставленном блоке), например определение блока из AutoCAD или определение фрагмента из приложения MicroStation, не отображаются в области "Результаты". Группы, блоки и ячейки обозначаются значком в дереве выбора.
  • "В том же файле" — в результат не включаются все конфликтующие элементы, которые входят в один файл (как по внешней ссылке, так и при добавлении). Если модель содержит несколько файлов САПР, то этот параметр позволяет осуществлять поиск только тех конфликтов, которые находятся в разных файлах.
  • "Элементы в одном составном объекте" — все конфликтующие элементы, которые являются частью одного составного объекта (простого объекта САПР, представляющего группу элементов геометрии), не отображаются в области "Результаты". Составной объект () — это группа геометрии, которая рассматривается как единый объект в дереве выбора. Например, объект-окно может состоять из рамы и стекла, а стены могут состоять из нескольких слоев. Данное правило гарантирует игнорирование самопересечения в объекте САПР. В этом случае оконное стекло и рама могут быть смоделированы так, чтобы элементы соприкасались или накладывались друг на друга. Это правило игнорирует конфликты между ними.
  • Прим.: Составные объекты можно включать в результаты проверки на наличие конфликтов. См. раздел Вкладка "Выбор".
  • "Элементы в ранее найденных парах составных объектов" — в результаты не включаются все конфликтующие элементы, которые являются частью составных объектов, которые ранее упоминались в результатах проверки. Например, при обнаружении конфликтов между одной и той же парой составных объектов они рассматриваются как один конфликт, поэтому только один конфликт включается в отчет. Другой игнорируется. Поскольку при выборе "Пропустить элементы в одном составном объекте" будут игнорироваться конфликты между элементами одного объекта, то будут игнорироваться и множественные конфликты между различными составными объектами. Это позволяет сократить число ложных срабатываний. В качестве примера можно привести трубу, проходящую сквозь стену. Если выбран этот параметр, то будет учтен только один конфликт, а не два (для двух сторон одной стены).
  • "Элементы с совпадающими точками шаговой привязки" — все найденные конфликтующие элементы с совпадающими точками привязки не включаются в результат, например конфликты для ответвлений труб и фитингов, которые имеют точки привязки в конце центровых линий. Autodesk Navisworks строит цилиндр в виде последовательности треугольников, чтобы повысить производительность (включите режим "Скрытие линий", чтобы посмотреть, как они вычерчиваются). В зависимости от коэффициента фасетизации цилиндра некоторые из треугольников могут конфликтовать друг с другом, даже если труба или фитинг вписывается в полную окружность.

Шаблоны правил

Также можно создать собственные правила игнорирования. Помимо используемых по умолчанию правил для конфликтов, имеются следующие шаблоны правил:

  • "Толщина изоляции" - в результатах не упоминаются все конфликтующие элементы, значение просвета для которых превышает заданную толщину изоляции. Это правило следует использовать вместе с проверкой "Близость".

    Если имеется труба, для которой требуется изоляция определенной толщины, то для такой трубы, возможно, потребуется выполнить проверку по критерию близости, задав для допуска просвета значение, соответствующее необходимой толщине изоляции. В результате будут выявлены все области, в которых просвет вокруг трубы недостаточен для установки изоляции.

    Если имеется несколько труб, для которых требуется изоляция разной толщины, вместо настройки разных проверок зазора для каждой толщины можно настроить одну проверку для наибольшей толщины изоляции, то есть допустить, что для всех труб требуется изоляция максимальной толщины. Затем это правило можно применить для игнорирования всех конфликтов, которые определены по ошибке, так как фактическая толщина изоляции для них меньше использованного максимального значения просвета.

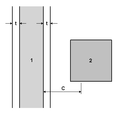
    См. приведенную ниже схему в качестве примера применения данного правила игнорирования:

    Труба 1 имеет толщину изоляции, равную t, а C - максимальное значение просвета (самая толстая изоляция), требующееся в любом месте текущей модели. В результатах отчетов не будут упоминаться все элементы (2), значения для которых попадают в диапазон от t до C.

  • "То же значение свойства" - в результатах не упоминаются все конфликтующие элементы, которые имеют одно и то же значение определенного свойства. Этот шаблон может использоваться при хранении информации в одном и том же свойстве.
  • "Тот же набор объектов" - в результатах не упоминаются все конфликтующие элементы, которые содержатся в одном и том же наборе объектов.
  • "Заданные наборы объектов" - в результатах не упоминаются все конфликтующие элементы, которые содержатся в двух заданных наборах объектов.
  • "Заданы свойства с одинаковым значением" - в результатах не упоминаются все конфликтующие элементы, у которых имеется одно и то же значение, но для различных свойств. Это - новый шаблон правила. Это правило также позволяет искать свойство в каком-либо родительском объекте. Например, прокладка на конце трубы регистрируется как конфликт со штуцером насоса. Такие элементы должны быть соединены. Сама по себе прокладка не имеет присоединенного непосредственно к ней свойства, которое бы указывало на то, что она должна быть связана со штуцером насоса; однако у родительского объекта такое свойство есть. При использовании этого шаблона проверка на наличие конфликтов игнорирует конфликты между такими двумя элементами.

Примеры применения правил конфликтов

В следующих примерах показано, какую пользу может принести комбинирование правил конфликтов.

  • Если в модели, состоящей из нескольких слоев, используются полые стены (внешнее полотно, изоляция, внутреннее полотно, гипсокартон), то можно использовать правило "Элементы в одном составном объекте" для сокращения конфликтов соприкасания полотен и правило "Элементы в предварительно найденных парах составных объектов", чтобы все конфликты стены учитывались как один конфликт, а не четыре.
  • Если выполняется проверка участка трубы с фитингами, то можно воспользоваться правилами "Элементы с совпадающими точками шаговой привязки" и " Элементы в ранее найденных парах составных объектов" для сокращения числа конфликтов, выдаваемых для креплений и труб, а также внутри креплений.
  • Если нужно проверить основные конфликты между трубами и конструкцией, воспользуйтесь правилами "Элементы в том же файле " и "Элементы в ранее найденных парах составных объектов", чтобы избежать просмотра файла в той же категории, включив в результат только один конфликт, где одна категория пересекается с составным объектом, состоящим из нескольких деталей.