头部的喷嘴

在主圆柱末端或喷嘴上定义头部之后,即可将多个喷嘴添加到头部。激活“在头部上包含喷嘴”复选框,然后单击“头部的喷嘴”按钮。这将显示“头部的喷嘴”对话框。

头部的喷嘴下拉菜单将显示选定喷嘴的输入。单击“添加喷嘴”按钮可将另一个喷嘴添加到头部。单击“移除喷嘴”按钮可删除当前选定喷嘴。复制喷嘴按钮将在容器具有类似喷嘴时复制现有喷嘴;简单地更改使重复喷嘴唯一的参数。

通过以下说明,头部喷嘴的输入便一目了然:

“几何体”选项卡

“位置”选项卡

请参见图 2,了解定位喷嘴的值定义。

头部端视图

为清楚起见,不显示喷嘴

横截面视图

基于实际头部的喷嘴交点。

 

横截面视图

基于平头的喷嘴交点。仅创建超过实际头部的喷嘴部分。

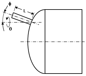
图 2:定位头部的喷嘴

关键要点:

OA = 偏移角度
OD = 偏移距离
L = 喷嘴长度
φ = Phi 角度
ϑ = Theta 角度。

“厚度”选项卡

如果要创建块体模型,则可在“厚度”选项卡中指定每个部件或喷嘴的厚度。(对于板/壳网格,每个区域的厚度均在“单元定义”下的“FEA 编辑器”中指定。)

注: PVDesigner 不会在网格中显示部件的厚度。厚度将在您退出 PVDesigner 之后显示在 Autodesk Simulation 中。