ヘッドのノズル

本体のシリンダの端またはノズルの上でヘッドが定義されると、そのヘッドに複数ノズルを追加することができます。[ヘッドのノズルを含む]チェック ボックスをオンにし、[ヘッドのノズル]ボタンをクリックします。[ヘッドのノズル]ダイアログが表示されます。

選択したノズルに関して入力した内容が[ヘッドのノズル]ドロップダウンに表示されます。他のノズルをヘッドに追加する場合は、[ノズルを追加]ボタンをクリックします。現在選択しているノズルを削除する場合は、[ノズルを削除]ボタンをクリックします。[ノズルを複製]ボタンをクリックすると既存のノズルがコピーされます。コピーされたノズルのパラメータを変更することで、類似した複数ノズルを容器に追加することができます。

ここからは、ヘッドのノズルに関する入力項目について説明します。

[ジオメトリ]タブ

[位置]タブ:

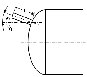
図 2 は、ノズルの位置を指定するさまざまな値の定義を示したものです。

ヘッドの端面図

ノズルの位置が不明確。

断面図

実際のヘッドを基準にしてノズルが接続された場合。

 

断面図

平らなヘッドを基準にしてノズルが接続された場合。ノズルは実際のヘッドより上の部分のみ作成されます。

図 2: ヘッドに対するノズルの位置指定

キー:

OA = オフセット角度
OD = オフセット距離
L = ノズルの長さ
φ = Phi 角
ϑ = シータ角

[厚さ]タブ

ブリック モデルを作成している場合は、各パーツやノズルの厚さを[厚さ]タブで指定することはできません。(プレート要素/シェル要素のメッシュの場合、各領域の厚さは[要素定義]の[FEA エディタ]で指定します。)

注: PVDesigner では、メッシュの各部の厚さは表示されません。PVDesigner を終了すると、Autodesk Simulation に厚さが表示されます。