W widokach elewacji używane są takie same narzędzia i metody rysowania rur, jak w widokach rzutu. Ponieważ jednak układ jest wyświetlany z innej perspektywy, wyniki mogą nie być zgodne z oczekiwaniami. W widoku elewacji rura jest rysowana względem płaszczyzny widoku elewacji. Podczas rysowania w widoku elewacji należy zachować widoczny widok 3D lub widok rzutu, aby zobaczyć wyniki wykonanych działań. Niżej wymieniono zagadnienia, o których należy pamiętać:
Nowa rura zostanie połączona z następnym dostępnym złączem najbliżej płaszczyzny widoku (na pierwszym planie) w widoku elewacji. Dostępne złącze nie jest jeszcze połączone z innym złączem i znajduje się w granicach widoku elewacji. (Tylko obwiednia widoku elewacji jest płaszczyzną widoku pierwszego planu).
W poniższym przykładzie dostępne są oba złącza na istniejącej rurze (1). Segment poziomy dodany w widoku przekroju (2) jest połączony ze złączem najbliżej płaszczyzny widoku, jak pokazano w widoku rzutu (3).

Dwa złącza w zakresie widoku
Jeśli w zakresie widoku dostępne jest tylko jedno złącze, to zostanie użyte. W poniższym przykładzie złącze najbliżej płaszczyzny widoku jest już używane (1). Podczas dodawania nowej rury w widoku elewacji (2), zostaje ona dodana w dalszym końcu istniejącej rury (3), przy użyciu tylko dostępnego złącza.

Tylko jedno złącze dostępne w zakresie widoku
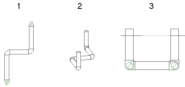
Jeśli w zakresie widoku nie ma żadnych dostępnych złączy, nowa rura zostaje połączona z trójnikiem na przecięciu płaszczyzny widoku elewacji i istniejącej rury. Oś rury jest umieszczona dokładnie nad płaszczyzną widoku.
W poniższym przykładzie 2 segmenty pionowe rury są dodawane do segmentu rury w widoku elewacji. Oryginalna rura jest pokazana w widoku rzutu (1), w skojarzonym widoku 3D (2) i w widoku elewacji południowej (3).

Wynikowe segmenty pionowe są wyświetlane (od lewej do prawej) w widoku rzutu (1), w skojarzonym widoku 3D (2) i w widoku elewacji południowej (3).


W takim przypadku, jeśli rura jest narysowana w widoku elewacji południowej (1), program Revit dodaje krótki segment rury między złączem bojlera i kolankiem, jak pokazano w widoku rzutu (2) i widoku 3D (3).
