创建丢失几何形体

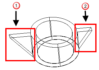
当放电某个区域所需的一个或多个电极丢失几何形体时,Electrode 将自动创建丢失几何形体。以下模型展示了此功能。

  1. 单击“向导”选项卡 >“电极”面板 >“创建”。
  2. 方框选择标有 的区域。

    如果选择了该区域中丢失几何形体每一侧的零件,则向导将检测这些零件是否可以连接,并向连接线框增加标记。

  3. 单击标记以自动生成丢失几何形体并将其增加到电极选择中。

  4. 单击“完成”以完成电极。