當來源 3D 模型變更時,除非您更新圖面視圖,否則文件模型圖面視圖不會反映所做的變更。
當「自動更新」為開啟 (VIEWUPDATEAUTO 系統變數 = 1) 時,圖面視圖會自動更新:
當「自動更新」為關閉 (VIEWUPDATEAUTO 系統變數 = 0) 時,圖面視圖不會自動更新。需要更新的圖面視圖會以紅色標識亮顯。系統匣會蹦現訊息通知,讓您知道模型已變更。之後,您必須明確更新過期的圖面視圖。

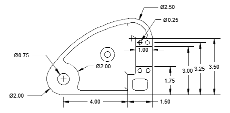
根據來源模型的變更,圖面視圖可能會擴大或收縮。在圖面中錨定視圖的方式有兩種。

您可以選擇製居中對正視圖,這樣視圖便可繞其中心擴大或收縮。

您也可以選擇「固定」選項,強制未變更的模型幾何圖形維持在變更作業之前的位置。通常都偏好這個選項,因其發生的移動較少。
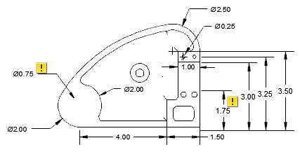
當更新事件移除註解貼附的邊緣時,註解會失去關聯性。您可以藉由註解監控的協助追蹤遺失關聯性的註解。
註解監控是能監控註解健全狀態的服務。當更新事件使註解遺失關聯性時,訊息通知會指出受影響的註解數目,且註解監控狀態匣圖示會從
到
。 此外,註解監控會在受影響的註解附近顯示徽章。

更新事件之前

更新事件之後
按一下徽章會顯示一個功能表,其中含有與已取消關聯性的註解對應的專用選項。當您關閉註解監控時,徽章即會消失。