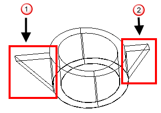
Electrode automatically creates missing geometry when it is missing for one or more of the electrodes required to burn a region. The following model illustrate this functionality.

and
.
When the parts of the region on each side of the missing geometry are selected, the wizard detects they can be joined and adds instrumentation to the joining wireframe.

