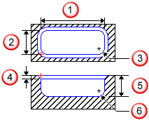
Cajera rectangular

Utilice la figura de Cajera rectangular para crear cajeras rectangulares.

— Longitud

— Anchura

— Radio de esquina

— Chaflán

— Profundidad

— Radio inferior

Nota: Para cajeras con curvas que no sean rectangulares, utilice la figura de Cajera, más general.

Para ello, introduzca el diámetro de la cajera en los campos de Longitud y Anchura e introduzca el radio de la cajera en el campo de Radio de esquina.