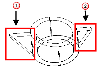
Electrode crée automatiquement la géométrie manquante quand elle manque pour une ou plusieurs des électrodes requises pour éroder une région. Le modèle suivant illustre cette fonctionnalité.

et
.
Quand les pièces de la région de chaque côté de la géométrie manquante sont sélectionnées, l'assistant détecte qu'elles peuvent être jointes et ajoute l'instrumentation au filaire de jointure.

