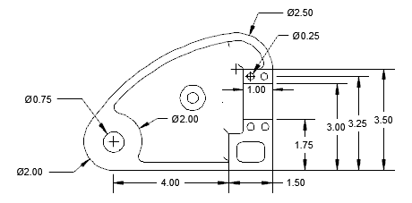
기호 정보(AutoCAD Mechanical)

AutoCAD Mechanical에는 도면에 삽입할 수 있는 기호 유형이 11개 있습니다.

지원되는 기호는 다음과 같습니다.

기호 및 제도 표준

제도 표준에서 각 기호의 동작과 특성을 정의합니다. 특성을 변경하려면 표준 요소를 편집합니다. 옵션 대화상자의 AM:표준 탭에서 표준 요소에 액세스합니다.

일반 특성

동작 부착

기호를 작성하는 중에 기호를 객체에 부착할 수 있습니다. 이렇게 한 후에 객체를 이동하면 기호도 객체와 함께 이동합니다.

기호는 부착 지점이 더 이상 유효하지 않으면 객체에서 분리됩니다. 예를 들면 다음과 같습니다.

업데이트 이벤트 전

업데이트 이벤트 후

주석 감시가 켜져 있으면 분리된 주석이 추적되고 분리된 주석이 배지로 강조 표시됩니다. 배지를 클릭하면 해당 주석에 적용되는 옵션을 포함하는 메뉴가 표시됩니다.

지시선 작성 동작

기호를 호나 스플라인에 부착하는 경우, 기호는 첫 번째 지시선 세그먼트가 부착된 객체에 수직이 되도록 강제 지정합니다. 십자선을 이동하면서 기호 지시선 직교 모드 전환 키(기본적으로 Shift+F)를 눌러 이 동작을 재지정할 수 있습니다.

기호를 선에 부착하는 경우, 일부 기호는 첫 번째 지시선 세그먼트가 부착된 객체에 대해 수직이 되도록 강제로 지정합니다. 이 동작을 나타내지 않는 기호의 경우 객체 스냅 추적을 켜면 AutoCAD Mechanical에 추적을 위한 수직 정렬 경로가 표시됩니다.

지시선 시작점 그립 편집 동작

지시선의 시작점을 끌면 전체 기호가 이동합니다.

십자선을 이동하면서 기호 지시선을 신축 모드로 전환 키(기본적으로 Shift+G)를 눌러 이 동작을 재지정할 수 있습니다. 이 모드에서 기호는 이동되지 않습니다. 대신 첫 번째 지시선 세그먼트가 신축됩니다.

주: 임시 재지정 키(Shift + G)는 다음 항목에 영향을 주지 않습니다.
  • 데이텀 식별자 기호(기본적으로 첫 번째 지시선 세그먼트가 신축되도록 허용하므로)
  • 데이텀 대상 기호(제도 표준에서는 첫 번째 지시선 세그먼트가 부착된 객체에 항상 직교해야 하도록 지정하므로).

기호 라이브러리

일부 기호의 경우에는 완전히 구성된 기호를 라이브러리에 저장할 수 있습니다. 그러면 리본에서 기호를 도면에 직접 삽입할 수 있으므로 값을 지정하지 않아도 되거나 저장된 기호에서 가져온 값만 지정하면 됩니다.

기호 편집

이미 도면에 삽입된 기호의 기호 문자를 편집하려면 기호를 두 번 클릭합니다. 지시선을 두 번 클릭하면 기호 설정 대화상자의 지시선 탭이 표시됩니다.

요약

기호 부착된 호에 수직인 첫 번째 지시선 세그먼트 부착된 선에 수직인 첫 번째 지시선 세그먼트 기호 라이브러리 주석 감시에 의해 추적되는지 여부 Shift+G 지원

데이텀 식별자

   

데이텀 대상

       

모서리

 

형상 공차

피쳐 식별자

 

지시선 주

 

테이퍼 및 경사도

   

표면 텍스쳐

 

용접

 

표식/스탬핑

 

고정 접합