모형 문서 단면 뷰는 기존 도면 뷰에서 투영된 뷰로, 내부에 포함된 내용을 표시하기 위해 단면 선을 사용하여 도면 뷰를 자릅니다.
아래 그림은 VIEWSECTION 명령으로 생성된 다른 도면요소 및 이러한 도면요소를 참조하는 데 사용되는 용어입니다. 단면 뷰 스타일은 나열된 각 도면요소의 모양을 조정합니다.

단면 뷰를 작성할 때 구속조건 추론이 켜져 있으면(CONSTRAINTINFER=1) 뷰 형상과 단면 선 사이의 구속조건이 추론됩니다. 뷰 업데이트를 수행하면 구속조건 때문에 단면 선이 강조하는 피쳐를 기준으로 제위치를 유지합니다. 어떤 경우에는 추론된 구속조건보다 복잡한 구속조건이 필요할 수 있습니다. 예를 들어, 지정된 모서리로부터 15mm를 통과해야 하는 단면 선이 있습니다. 이러한 경우 "기호 스케치 모드"라는 특수 편집 환경을 사용하여 단면 선을 뷰 형상에 수동으로 구속할 수 있습니다. 스케치 모드에서는 단면 선을 구속하는 데 도움이 되는 다른 형상을 추가할 수 있습니다. 이 형상은 구성 형상으로 간주되며 기호 스케치 모드에서만 보입니다.
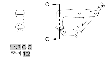
단면 선으로 절단된 구성요소는 단면 뷰에서 해치됩니다. 기계 엔지니어링 제도 관행상 조임쇠 및 샤프트와 같은 구성요소는 해치(단면화)하면 안 됩니다.

따라서 VIEWSECTION 명령이 Inventor 컨텐츠 라이브러리 구성요소를 탐지하고 단면화하지 않습니다. 그러나 AutoCAD 3D 모형에는 샤프트나 조임쇠와 같은 구성요소를 명시적으로 식별하는 메타데이터가 포함되어 있지 않습니다. 따라서 수동으로 그러한 구성요소를 선택하고 단면화되지 않도록 제외해야 합니다.
다른 도면 뷰에서처럼 단면 뷰에서 투영된 뷰를 생성할 수 있습니다. 그러나 등각투영 투영된 뷰만 절단부를 기본적으로 상속합니다. 직교 투영된 뷰는 절단부를 상속하지 않습니다. 그럼로 단면 뷰의 직교 투영된 뷰는 완전한 뷰입니다.

단면 뷰의 등각투영 투영된 뷰는 단면 뷰 스타일에 의해 조정되지 않습니다. 대신 상위 단면 뷰에서 축척 특성 및 해치 특성과 같은 특성을 상속합니다.