Cotas generales
Se pueden crear cotas generales en las vistas ortogonales o isométricas. La geometría seleccionada determina el tipo de cota y las opciones disponibles en el menú contextual.
Se puede anular el texto de la cota, lo que no afecta a la geometría del modelo.
Puede modificar la precisión y la tolerancia de la cota. Para ello, edite la directriz y los extremos o modifique el contenido del texto de la cota.

Cotas de línea base y conjuntos de cotas de línea base
Crea varias cotas que muestran la distancia ortogonal entre el origen (línea base) y las aristas o los puntos seleccionados. La primera arista o el primer punto que se selecciona es la geometría de origen. Puede crear cotas individuales o un conjunto de cotas.

Cotas por coordenadas y conjuntos de cotas por coordenadas
Crea varias cotas por coordenadas en un único proceso. Las cotas por coordenadas se alinean automáticamente cuando se insertan. Si el texto de la cota se solapa con algún elemento, modifique la posición o el estilo de la cota. Puede crear cotas individuales o un conjunto de cotas.

Recuperar cotas
Muestra todas las cotas del modelo o sólo las cotas relacionadas con determinadas piezas u operaciones. El usuario selecciona las cotas que desea conservar en la vista del dibujo.
Sólo están disponibles las cotas del modelo paralelas al plano de la vista.
Las cotas del modelo se pueden modificar para manipular el archivo de pieza.

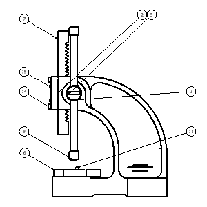
Marcas de centro
Las marcas de centro se añaden al arco o al círculo seleccionado. El tamaño de las líneas de referencia de la marca de centro se ajusta automáticamente para adaptarse a la geometría.
Las marcas de centro se pueden añadir individualmente o usando el comando Ejes automáticos.

Ejes
Crea ejes en las aristas seleccionadas, en el punto medio de las líneas o en el centro de los arcos o los círculos. Crea un eje circular cuando las operaciones forman un patrón circular.
Autodesk Inventor admite tres tipos de ejes: bisector, patrón centrado y axial.

Notas de agujero/rosca
Las notas de agujero o rosca muestran la información de las operaciones de agujero, rosca y extrusión de corte cilíndrica de un modelo. El estilo de la nota de agujero varía en función del tipo de operación seleccionado.

Notas de chaflán
Las notas de chaflán contienen las medidas de distancia y ángulo de las aristas de modelo o las líneas de boceto seleccionadas.
Las notas de chaflán se pueden asociar a las aristas en ángulo de las vistas y los bocetos. La arista del chaflán y la arista de referencia de cuerpos, modelos o bocetos diferentes deben formar parte de la misma vista.

Símbolos
Existen varios tipos de símbolos disponibles: símbolos de acabado superficial, soldadura, rectángulo de tolerancia de operación, indicación de operación, referencia parcial e indicación de referencia. Los símbolos se crean con o sin directriz.
Los símbolos de boceto se definen en los Recursos para dibujos y se insertan como símbolos estándar. Se utilizan para definir símbolos personalizados que no están disponibles en Autodesk Inventor.

Notas de pliegue
Las notas de pliegue añaden información de fabricación a los pliegues de chapa, las curvas de contorno y los ejes ficticios. Se pueden añadir notas de pliegue a las vistas de desarrollo de las piezas de chapa.
Una nota de pliegue está asociada con el eje de pliegue seleccionado. El parámetro por defecto de la nota de pliegue se sitúa sobre el eje de pliegue seleccionado. El texto del pliegue se restringe al punto medio del eje con un desfase definido por el valor de la opción Desfase de origen del área Estilo de cota.

Nota de punzonado
Una nota de punzonado incluye datos relacionados con la operación de punzonado; por ejemplo el ID de punzonado, el ángulo, la dirección, la profundidad, la nota de cantidad, etc.
Se pueden añadir notas de punzonado a las vistas de desarrollo de las piezas de chapa.

Orugas
Las orugas de soldadura se utilizan para indicar las operaciones de soldadura en las vistas 2D. Puede añadir orugas de soldadura manualmente usando el comando Oruga. Añádalas automáticamente desde las operaciones de soldadura usando Obtener anotaciones de modelo > Obtener anotaciones de soldadura en el menú contextual.

Rellenos de final
Los rellenos de final se utilizan para representar la región rellenada que indica el final de un cordón de soldadura. Se pueden añadir de forma manual con el comando Relleno de final o de forma automática a partir de los modelos de conjunto soldado usando Obtener anotaciones de modelo > Obtener anotaciones de soldadura.
Modifique el aspecto del relleno de final a través de las propiedades de objeto.

Referencias numéricas
Las referencias numéricas son identificadores de anotación que hacen referencia a los elementos que aparecen en una lista de piezas. Las referencias numéricas se pueden insertar de forma individual o automática en todos los componentes de una vista de dibujo. Puede añadir referencias numéricas a una pieza personalizada una vez que se añada a la lista de piezas.
La forma y el valor de la referencia numérica se pueden anular con la opción Editar referencia numérica del menú contextual. Las referencias numéricas se pueden combinar de manera que usen una sola directriz. Para ello, utilice las opciones de asociación de referencia numérica del menú contextual.

Listas de piezas
Las listas de piezas muestran los datos guardados en la lista de materiales del ensamblaje. La lista de piezas se puede modificar para que incluya diferentes columnas o valores de anulación. Los datos de la lista de materiales se pueden modificar en el archivo de dibujo o el archivo de ensamblaje.
Se pueden añadir piezas personalizadas a la lista de piezas para incluir elementos que no se modelan, como la pintura o la grasa.

Tablas
Se puede crear una tabla general, de configuración o de plegado.
Se puede crear una tabla general o de configuración.
Una tabla general puede incluir un número por defecto de filas y columnas. Si lo desea, puede personalizar su tamaño. La tabla general puede hacer referencia a datos externos de archivos .xls, .xlsx o .csv, o puede introducir cualquier otro tipo de datos que necesite.
En dibujos con iParts e iAssemblies, las filas de la tabla de configuración representan los miembros de la familia. Puede especificar qué columnas se incluirán en la tabla de configuración, como el estado de exclusión y los valores que diferencian a los distintos miembros.
La tabla de plegado se crea si el origen de la tabla es una pieza de chapa. Las tablas de plegado contienen información sobre los pliegues, como los ángulos y los radios.

Tablas de agujeros
Las tablas de agujeros muestran el tamaño y la ubicación de las operaciones de agujero de un modelo. Cuando se añade una tabla de agujero, cada agujero recibe un identificador de agujero y la fila correspondiente se añade a la tabla.
Las tablas de agujeros también se pueden editar para añadir marcas de centro, operaciones de punzonado y extrusiones de corte cilíndricas.

Tablas e identificadores de revisiones
Las tablas de revisiones incluyen información sobre los cambios realizados en los diseños. Las tablas de revisiones se pueden crear para todo el archivo de dibujo o para una sola hoja.
Los objetos cambiados en las revisiones del diseño se indican con identificadores de revisión. El nivel de revisión por defecto del identificador es la revisión más reciente de la tabla. Para modificar el nivel de revisión del identificador, utilice el menú contextual.

Texto o Texto de directriz
Utilice Texto para añadir notas generales a un dibujo. Las notas generales no están asociadas a una vista, un símbolo u otro objeto del dibujo.
Utilice Texto de directriz para añadir notas a los objetos de un dibujo. Si asocia la línea de directriz a una geometría dentro de una vista, la nota se desplazará o suprimirá cuando se desplace o se suprima la vista.

Texto o Texto de directriz
Utilice Texto para añadir notas generales a un dibujo. Las notas generales no están asociadas a una vista, un símbolo u otro objeto del dibujo.
Utilice Texto de directriz para añadir notas a los objetos de un dibujo. Si asocia la línea de directriz a una geometría dentro de una vista, la nota se desplazará o suprimirá cuando se desplace o se suprima la vista.
