Definir reglas de conflictos

El uso de reglas de omisión de conflictos reduce el número de resultados de conflictos porque se descartan algunas combinaciones de elementos en conflicto. La herramienta Clash Detective incluye reglas de conflictos por defecto y plantillas de reglas de conflictos, que pueden utilizarse para crear reglas de conflictos personalizadas.

Reglas de conflictos personalizadas

El programa incluye las siguientes reglas de omisión de conflictos:

  • Elementos en la misma capa: todos los elementos en conflicto que pertenezcan a la misma capa no aparecerán en los resultados. Esto resulta útil, por ejemplo, si desea omitir los conflictos en el mismo nivel de un archivo de Revit (2014 o posterior). La capa o los niveles se señalan mediante el icono en el Árbol de selección.
  • Elementos en el mismo grupo/bloque/celda: todos los elementos en conflicto que pertenezcan al mismo grupo (o bloque insertado), como una definición de bloque de AutoCAD o una definición de celda de MicroStation, no aparecerán en los resultados. Los grupos, bloques y celdas se señalan mediante el icono en el Árbol de selección.
  • Elementos en el mismo archivo: todos los elementos en conflicto que pertenezcan al mismo archivo (ya sea por una referencia externa o porque se hayan añadido) no aparecerán en los resultados. Si el modelo contiene varios archivos CAD, esta opción permite buscar solo los conflictos entre distintos archivos.
  • Elementos en el mismo objeto compuesto: todos los elementos en conflicto que pertenezcan al mismo objeto compuesto (un único objeto de CAD representado por un grupo de elementos de geometría) no aparecerán en los resultados. Un objeto compuesto () es un grupo de geometría que se considera un único objeto en el Árbol de selección. Por ejemplo, un objeto de ventana puede estar compuesto por un marco y un panel, o un muro hueco puede componerse de varias capas. Esta regla garantiza que se ignorarán las autointersecciones en un objeto de CAD. En este caso, el panel de ventana y el marco se pueden modelar para que las piezas se toquen o se solapen. Esta regla ignora los conflictos entre ellas.
  • Nota: Puede optar por incluir objetos compuestos en los resultados de conflictos. Consulte Ficha Seleccionar.
  • Elementos en par de objetos compuestos encontrados anteriormente: todos los elementos en conflicto que pertenezcan a objetos compuestos que se hayan detectado previamente en la prueba no aparecerán en los resultados. Por ejemplo, cuando se detecta un conflicto entre los mismos pares de objetos compuestos, se tratan como un solo conflicto, de modo que el conflicto se incluye una vez en el informe. La otra se ignora. Mientras que "Ignorar elementos en el mismo objeto compuesto" ignora los conflictos entre las piezas de un único objeto, esta regla ignora varios conflictos entre diferentes objetos compuestos. Esta opción es útil para reducir el número de falsos positivos. Un ejemplo de esto podría ser una tubería que pasa a través de un muro. Con esta opción seleccionada, el conflicto solo se registra una vez, en lugar de contar los conflictos en ambos lados del muro como conflictos diferentes.
  • Elementos con puntos de referencia coincidentes: todos los elementos en conflicto que tengan puntos de referencia coincidentes no aparecerán en los resultados, como los tramos de tuberías y las conexiones que tienen puntos de referencia en los extremos de las líneas centrales. Autodesk Navisworks dibuja un cilindro como una serie de triángulos para mejorar el rendimiento (pruebe el modo de líneas ocultas para ver cómo se dibujan). En función del factor de facetado del cilindro, algunos triángulos pueden entrar en conflicto con otros, incluso aunque la tubería o las conexiones encajasen si se dibujasen como cuerpos completamente redondos.

Plantillas de reglas

También puede crear sus propias reglas de omisión. El programa incluye las plantillas de reglas siguientes (además de las reglas de conflictos por defecto):

  • Grosor de aislamiento: todos los elementos en conflicto que tengan un espacio libre superior al grosor de aislamiento especificado no aparecerán en los resultados. Esta regla sólo puede utilizarse en una prueba Espacio libre.

    Si hay una tubería que requiere un grosor específico de aislamiento, puede ejecutarse una prueba de espacio libre en dicha tubería para establecer una tolerancia de espacio libre correspondiente al grosor de aislamiento necesario. De este modo se identificarían las áreas en las que no hay suficiente espacio libre alrededor de la tubería para instalar el aislamiento.

    Si hay varias tuberías, y todas requieren un grosor de aislamiento diferente, en lugar de ejecutar una prueba de espacio libre para cada grosor, se puede configurar una prueba con la tolerancia máxima necesaria, es decir, se asume que todas las tuberías requieren el grosor de aislamiento máximo. Esta regla se puede aplicar para omitir los conflictos que se no deberían detectarse, ya que su grosor de aislamiento es menor que el espacio libre máximo especificado.

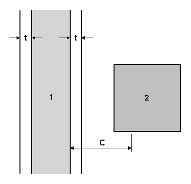
    Consulte la imagen siguiente para ver un ejemplo de un caso en el que se aplicaría esta regla de omisión:

    La tubería 1 tiene un grosor de aislamiento t y C indica el espacio libre máximo (el grosor máximo de aislamiento) necesario en todo el modelo actual. Todos los elementos (2) que no superen el intervalo de valores entre t y C no aparecerán en los resultados.

  • Mismo valor de propiedad: todos los elementos en conflicto que compartan el mismo valor para una propiedad concreta no aparecerán en los resultados. Esta plantilla se puede utilizar si la información está almacenada en esa propiedad.
  • Mismo conjunto de selección: todos los elementos en conflicto que formen parte del mismo conjunto de selección no aparecerán en los resultados.
  • Conjuntos de selección específicos: todos los elementos en conflicto que formen parte de dos conjuntos de selección determinados no aparecerán en los resultados.
  • Propiedades específicas con el mismo valor: todos los elementos en conflicto que compartan el mismo valor, pero en dos propiedades diferentes, no aparecerán en los resultados. Esta plantilla de regla es nueva. También permite buscar la propiedad en cualquier objeto principal de la jerarquía. Por ejemplo, si se detecta que la junta que hay al final de la tubería entra en conflicto con el inyector de la bomba. Ambos elementos deben estar conectados. La junta no tiene ninguna propiedad directamente enlazada para que se pueda establecer que debe ir conectada al inyector de la bomba; sin embargo, el objeto principal de la junta sí posee propiedades. Si utiliza esta plantilla, la prueba de conflictos omitirá los conflictos entre estos dos elementos.

Ejemplos de uso de reglas de conflictos

Los siguientes ejemplos muestran lo útil que puede resultar combinar reglas de conflictos:

  • Si se utiliza en el modelo un muro hueco que se compone de varias capas (hoja exterior, aislamiento, hoja interior, placa de yeso), puede utilizar la regla Elementos en el mismo objeto compuesto para reducir los conflictos de las hojas en contacto, y la regla Elementos en par de objetos compuestos encontrados anteriormente para contar los conflictos del muro como un solo conflicto en lugar de cuatro.
  • Si está ejecutando una comprobación de un tramo de tubería con las conexiones, puede utilizar las reglas Elementos con puntos de referencia coincidentes y Elementos en par de objetos compuestos encontrados anteriormente para reducir los conflictos registrados entre las fijaciones y las tuberías y en aquellas.
  • Si desea comprobar los conflictos importantes entre las tuberías y la estructura, utilice las reglas Elementos en el mismo archivo y Elementos en par de objetos compuestos encontrados anteriormente para evitar tener que buscar en un archivo de la misma disciplina y para poder registrar un único resultado de conflicto donde una disciplina se cruce con un objeto compuesto formado por varias piezas.