Per una macchina di tornitura motorizzata, la pinza è tenuta dai porta utensile. I porta utensile è probabile che siano forniti dal proprio rivenditore di macchine. Come tali, sono salvati nel file machine design.
Esistono tre tipi base di blocchi utensile:
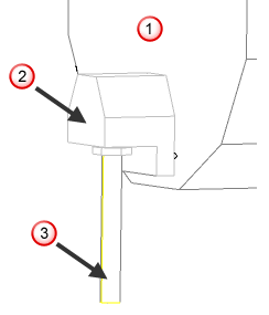
Questo porta-utensili contiene utensili di tornitura destrorsi ed è montato sulla faccia della torretta.
Questo porta-utensili contiene utensili di tornitura sinistrorsi ed è montato sulla faccia della torretta.
- Torretta
- Porta-utensile
- Utensile tornio
Questo porta-utensile contiene utensili di fresatura paralleli all'asse X ed è montato sul diametro esterno della torretta.
- Torretta
- Porta-utensili X (supporto Est)
- Utensile X
Questo porta-utensile contiene utensili di fresatura paralleli all'asse X ed è montato sulla faccia della torretta.
- Torretta
- Utensile X non montato sul blocco diametro esterno
- Utensile X
Questo porta-utensile contiene barre di barenatura e fora parallelamente all'asse Z e può essere montato sul diametro esterno o sulla faccia della torretta.
- Torretta
- Blocco utensile ID o Z
- Utensile e pinza Z
Può essere utile differenziare tra un porta utensile di tornitura del diametro esterno per utensili sinistrorsi rispetto ad utensili destrorsi. Se si usano utensili di tornitura sinistrorsi, aggiungere un porta utensili sinistrorso.
Esiste un'altra opzione per gli utensili di rotazione X e asse Z: si possono montare sul diametro esterno della torretta o sulla faccia della torretta. Se, quando si aggiunge una posizione sulla torretta, si è specificato che la posizione dell'utensile si trova sulla faccia della torretta, si deve usare l'opzione di montatura sulla faccia anche qui in questa finestra di dialogo. (Anche l'opposto è valido, se l'utensile montato sul diametro esterno è stato usato come posizione utensile, specificare che anche il porta utensile è montato sul diametro esterno).
Se non si può montare un utensile sul diametro esterno della torretta, non si deve definire un porta utensile montato sul diametro esterno. Si deve, tuttavia, avere almeno un porta utensile solido per ciascun tipo si utensile che si vuole simulare. Al momento, non si può usare lo stesso solido per diversi tipi di porta utensili.
Se non si definisce un porta utensile di tornitura del diametro esterno, FeatureCAM cerca di usare un porta utensile X montato sul diametro esterno per ciascun utensile di tornitura del diametro esterno. In questo modo, si può in generale definire una macchina con solo due porta utensile, uno per la tornitura del diametro esterno e gli utensili X e un altro per le barre di barenatura ID e altri utensili Z.
Si devono definire solo i porta utensile per la torretta principale. I porta utensile con trasformazioni adatte sono usati automaticamente per le sotto-torrette.