無視するクラッシュ ルールを使用すると、特定のクラッシュ項目の組み合わせを無視することによりクラッシュ結果の数を減らすことができます。Clash Detective ツールには、既定のクラッシュ ルールと、カスタムのクラッシュ ルールを作成するために使用可能なクラッシュ ルール テンプレートが含まれています。
以下に、組み込まれている無視するクラッシュ ルールを示します。
[同一画層上の項目]: 同一画層上にあるクラッシュが見つかった項目は、結果に報告されません。これは、Revit ファイル(2014 以降)の同じレベルのクラッシュを無視する場合などに役立ちます。画層またはレベルは、[選択ツリー]に
アイコンで示されます。
[同一グループ/ブロック/セルの項目]: AutoCAD のブロック定義や MicroStation のセル定義など、同一グループ(または挿入されたブロック)内にあるクラッシュが見つかった項目は、結果として報告されません。グループ、ブロック、セルは、[選択ツリー]に
アイコンで示されます。
[同一ファイル内の項目]: 同一ファイル(外部参照または追加されたファイル)内にあるクラッシュが見つかった項目は、結果に報告されません。モデルに複数の CAD ファイルが含まれている場合、このオプションを指定すると、異なるファイル間のクラッシュのみを検索することができます。
[スナップ点が一致する項目]: 一致するスナップ点があるクラッシュが見つかった項目は、結果として報告されません。該当する例として、中心線の端にスナップ点がある配管や継手などが挙げられます。Autodesk Navisworks では、パフォーマンスの向上を図るために、円柱が一連の三角形として描画されます([隠線]モードにすると、どのように描画されているかを確認できます)。面分割係数によっては、完全に円形として描画され、パイプや継手がフィットしている場合でも、一部の三角形が互いにクラッシュする場合があります。
また、ユーザ独自の無視するルールを作成することもできます。既定のクラッシュ ルールのほかに、以下のルール テンプレートが使用できます。
[断熱材の厚さ]: 指定した断熱材の厚さより大きなクリアランス値があるクラッシュが見つかった項目は、結果に報告されません。このルールは、クリアランス テストで使用する必要があります。
指定した断熱材の厚さが必要なパイプがある場合、パイプに対してクリアランス テストを実行し、クリアランスの許容差を必要な断熱材の厚さに設定できます。これにより、パイプの周囲に、断熱材を巻くための十分なクリアランスがない領域を特定できます。
さまざまな種類のパイプがあり、そのすべてに異なる断熱材の厚みが必要である場合、断熱材の厚みごとにクリアランス テストを設定するのではなく、最大の必須許容差を使用する 1 回のテストを設定します。つまり、すべてのパイプに、断熱材の最大の厚みが必要であることを前提としたテストを行います。その後、間違って識別されたクラッシュの実際の断熱材の厚みが、使用される最大クリアランスより小さい場合に、このクラッシュを無視するためにこのルールを適用できます。
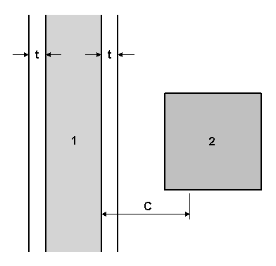
この無視するルールの適用例については、以下の図を参照してください。

パイプ 1 の断熱材の厚みは t で、C は現在のモデルのあらゆる場所に必要な最大クリアランス(最も厚みがある断熱材のクリアランス)です。t から C の範囲内にあるすべての項目(2)は、結果に報告されません。
[同一プロパティ値]: 特定のプロパティ値を共有するクラッシュが見つかった項目は、結果に報告されません。このテンプレートは、情報が同じプロパティに格納されている場合に使用できます。
[同一選択セット]: 同じ選択セット内に含まれるクラッシュが見つかった項目は、結果に報告されません。
[指定選択セット]: 指定した 2 つの選択セット内に含まれているクラッシュが見つかった項目は、結果に報告されません。
[同じ値を持つ特定のプロパティ]: 同じ値を共有するが、2 つの異なるプロパティを持つクラッシュが見つかった項目は、結果に報告されません。これは、新しいルール テンプレートです。このルールを使用すると、親オブジェクトのプロパティを検索することもできます。たとえば、パイプの端部にあるガスケットを、ポンプのノズルとのクラッシュとして登録します。これらの項目を結びつける必要があります。ガスケット自身には、ポンプのノズルにアタッチすることを指定するために直接アタッチされたプロパティがありませんが、ガスケットの親オブジェクトにはアタッチされたプロパティがあります。このテンプレートを使用すると、クラッシュ テストはこの 2 つの項目間のクラッシュを無視します。
クラッシュ ルールの組み合わせが役立つ例を次に示します。